首页
伤感说说
动漫配图
心情说说
抖音文案
伤感图片
伤感说说:
伤感的句子说说心情
空间说说
心情说说
爱情说说
女生伤感说说
人生感悟
心情不好的说说
说说带图片
关于生活的说说
说说心情短语
qq空间说说带图片
个性说说
励志名言
一句话经典语录
感悟人生的经典句子
短句吧
情感故事
抖音文案
伤感图片:
伤感图片带字
非主流伤感图片
唯美伤感图片
女生伤感图片
唯美意境图片
悲伤的图片
唯美意境伤感图片
只有字的伤感图片
说说图片
伤心的图片
美甲图片
图片大全
情感图片
微信头像男
动态壁纸
动漫配图
伤感图片
首页
>
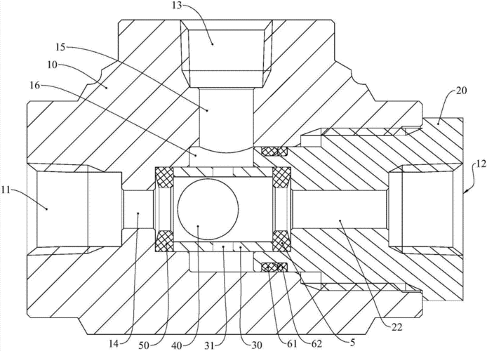
梭阀工作原理
梭阀工作原理,减压阀工作原理
梭阀的工作原理pdf4页
梭阀的结构原理
其工作原理与液压梭阀相同.
一种高压梭阀制造技术
液压梭阀的工作原理
更多推荐
减压阀工作原理
梭阀工作原理动画
梭阀原理图
气动梭阀工作原理动画
预作用报警阀工作原理
柱塞泵工作原理
隔膜泵工作原理
晶体管工作原理
空调工作原理
液压机工作原理
离心泵的工作原理
内燃机工作原理
热电偶工作原理
热继电器工作原理
液压马达的工作原理
发电机的工作原理
发动机工作原理
伺服电机工作原理
压缩机工作原理
plc工作原理
真空发生器工作原理
差速器工作原理
芯片工作原理图解
离合器的工作原理
继电器工作原理接线图
油水分离器工作原理
梭阀
液压梭阀
液压三通梭阀
气动梭阀