首页
伤感说说
动漫配图
心情说说
抖音文案
伤感图片
伤感说说:
伤感的句子说说心情
空间说说
心情说说
爱情说说
女生伤感说说
人生感悟
心情不好的说说
说说带图片
关于生活的说说
说说心情短语
qq空间说说带图片
个性说说
励志名言
一句话经典语录
感悟人生的经典句子
短句吧
情感故事
抖音文案
伤感图片:
伤感图片带字
非主流伤感图片
唯美伤感图片
女生伤感图片
唯美意境图片
悲伤的图片
唯美意境伤感图片
只有字的伤感图片
说说图片
伤心的图片
美甲图片
图片大全
情感图片
微信头像男
动态壁纸
动漫配图
伤感图片
首页
>
混凝土手工倒角器
混凝土手工倒角器,混凝土倒角器
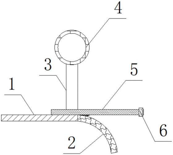
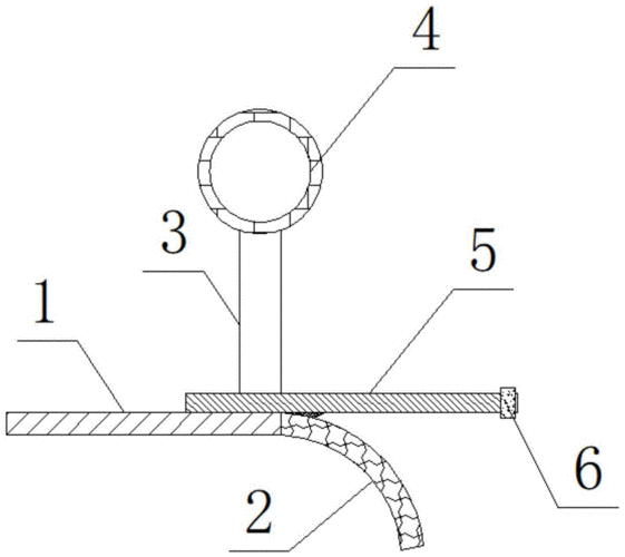
一种混凝土倒角器的制作方法
铁塔基础圆形倒角器不锈钢变电站倒角刀混凝土圆角抹子方形倒角
一诺桥隧混凝土倒角机飞机场专用倒角机厂家
cn209429522u_一种混凝土倒角器有效
工具 通用手工工具 组合工具套装,工具箱 瓷砖倒角器 图集
更多推荐
混凝土倒角器
混凝土倒角工艺
混凝土基础倒角器
混凝土倒角
混凝土倒角条
混凝土倒角条图片
混凝土倒角抹子
混凝土基础倒角图片
手用倒角器
内圆手动倒角器
手动倒角器45度
手工画图倒角怎么画
倒角器
圆柱基础倒角器
倒角器45度
圆形倒角器
圆管倒角器
管口倒角器
外倒角器
倒角器图片
外圆倒角器
倒角器规格
手工折弯器
手工钻孔器
铁塔基础倒角器
专用内孔倒角器
电力基础倒角器
瓷砖倒角器45度
手工割圆器
倒角神器