首页
伤感说说
动漫配图
心情说说
抖音文案
伤感图片
伤感说说:
伤感的句子说说心情
空间说说
心情说说
爱情说说
女生伤感说说
人生感悟
心情不好的说说
说说带图片
关于生活的说说
说说心情短语
qq空间说说带图片
个性说说
励志名言
一句话经典语录
感悟人生的经典句子
短句吧
情感故事
抖音文案
伤感图片:
伤感图片带字
非主流伤感图片
唯美伤感图片
女生伤感图片
唯美意境图片
悲伤的图片
唯美意境伤感图片
只有字的伤感图片
说说图片
伤心的图片
美甲图片
图片大全
情感图片
微信头像男
动态壁纸
动漫配图
伤感图片
首页
>
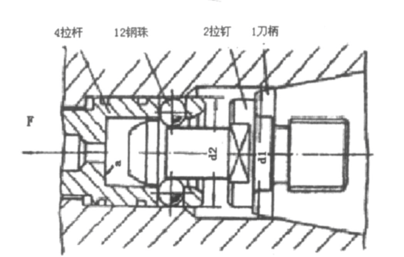
刀柄与主轴连接图
刀柄与主轴连接图,刀柄和刀杆的图
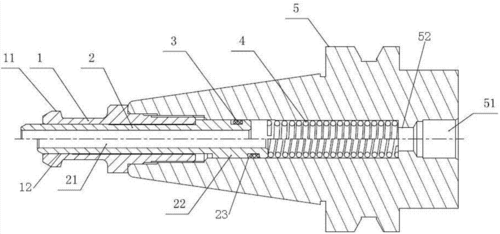
1 刀柄类型 刀柄是机床和刀具的连接体,刀柄通过拉钉固定在机床主轴
传统机床的主轴锥孔普遍采用7:24 锥度实心长刀柄,常
应用技术 技术方案:本实用新型提供了机加工用内冷刀柄,包括拉钉,连接
机床电主轴内部结构,刀具刀柄如何与主轴连接,如何实现快速换刀
数控hsk刀柄的简介
更多推荐
刀柄和刀杆的图
刀柄图片大全图解
唐刀刀柄结构图
木刀柄图片大全图解
各种刀把刀柄样式图片
主轴图纸
刀柄图片
穿心刀柄制作图解
匕首刀柄图
刀柄刀把
漂亮的刀柄图片
车床主轴图纸
漂亮的木刀柄图片
菜刀刀柄
无孔刀柄缠绳的步骤图
液压刀柄
刀柄
数控刀柄
武士刀刀柄
刀柄上的铜套制作图解
bt50刀柄尺寸图
唐刀刀柄
刀柄制作
热缩刀柄
bt40刀柄
车床主轴轴承
木刀柄
刀柄型号大全
刀柄设计
一孔刀柄缠绳方法图解