首页
伤感说说
动漫配图
心情说说
抖音文案
伤感图片
伤感说说:
伤感的句子说说心情
空间说说
心情说说
爱情说说
女生伤感说说
人生感悟
心情不好的说说
说说带图片
关于生活的说说
说说心情短语
qq空间说说带图片
个性说说
励志名言
一句话经典语录
感悟人生的经典句子
短句吧
情感故事
抖音文案
伤感图片:
伤感图片带字
非主流伤感图片
唯美伤感图片
女生伤感图片
唯美意境图片
悲伤的图片
唯美意境伤感图片
只有字的伤感图片
说说图片
伤心的图片
美甲图片
图片大全
情感图片
微信头像男
动态壁纸
动漫配图
伤感图片
首页
>
hsk刀柄拉刀原理
hsk刀柄拉刀原理,hsk刀柄夹刀原理图
hsk刀柄夹持系统
hsk,bbt,c,km的刀柄结构对比
hsk刀柄尺寸图纸
hsk刀柄的6种形式
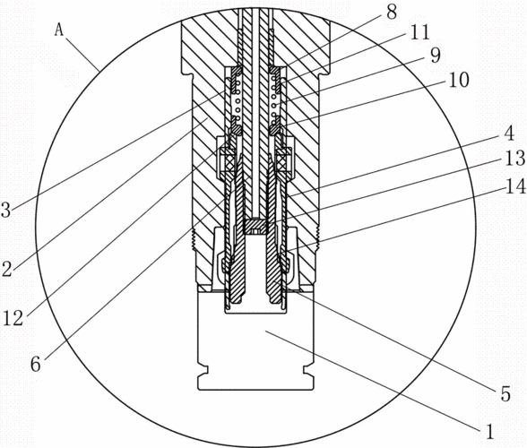
一种高速电主轴hsk刀柄的拉刀装置的制作方法
更多推荐
hsk刀柄夹刀原理图
hsk刀柄锁刀原理图
hsk刀柄主轴夹持原理
hsk刀柄
hsk刀柄图纸
hsk63刀柄图解
hsk主轴拉刀结构
hsk63a刀柄尺寸图
浮动刀柄结构图原理
唐刀刀柄
菜刀刀柄
武士刀刀柄
浮动铰刀柄原理
自制浮动铰刀刀柄
刀柄刀把
柔性攻丝刀柄结构原理
刀柄
bt40刀柄
液压刀柄
KM刀柄
SK刀柄
匕首刀柄
数控刀柄
各种刀把刀柄样式图片
刀柄缠绳
刀柄制作
刀柄型号大全
刀柄与主轴连接图
拉床拉刀图片
拉床拉刀价格