首页
伤感说说
动漫配图
心情说说
抖音文案
伤感图片
伤感说说:
伤感的句子说说心情
空间说说
心情说说
爱情说说
女生伤感说说
人生感悟
心情不好的说说
说说带图片
关于生活的说说
说说心情短语
qq空间说说带图片
个性说说
励志名言
一句话经典语录
感悟人生的经典句子
短句吧
情感故事
抖音文案
伤感图片:
伤感图片带字
非主流伤感图片
唯美伤感图片
女生伤感图片
唯美意境图片
悲伤的图片
唯美意境伤感图片
只有字的伤感图片
说说图片
伤心的图片
美甲图片
图片大全
情感图片
微信头像男
动态壁纸
动漫配图
伤感图片
首页
>
纸卡扣结构
纸卡扣结构,纸扣
卡扣结构
塑胶产品结构设计--卡扣
包装腰封纸定做食品纸质腰封纸卡扣纸卡腰封纸卡包装盒定制
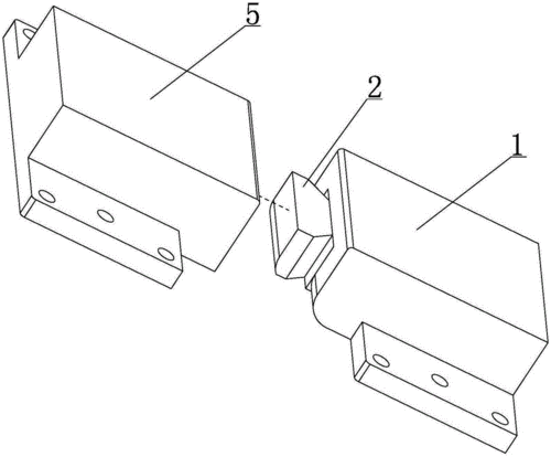
一种卡扣结构的制作方法
包装纸护角 卡扣纸护角 纸护角边 锁扣l型纸护角
更多推荐
纸扣
纸板卡扣制作
纸卡扣
纸卡扣设计
结构
包的结构
高的结构
花的结构
人体结构
结构胶
热气球的结构
人体结构图
原子结构示意图
种子的结构
眼睛结构
鱼的结构
心脏结构
花的结构示意图
口腔结构
子宫图结构示意图
牙齿结构
显微镜的基本结构
人体结构示意图器官
消化系统结构简图