首页
伤感说说
动漫配图
心情说说
抖音文案
伤感图片
伤感说说:
伤感的句子说说心情
空间说说
心情说说
爱情说说
女生伤感说说
人生感悟
心情不好的说说
说说带图片
关于生活的说说
说说心情短语
qq空间说说带图片
个性说说
励志名言
一句话经典语录
感悟人生的经典句子
短句吧
情感故事
抖音文案
伤感图片:
伤感图片带字
非主流伤感图片
唯美伤感图片
女生伤感图片
唯美意境图片
悲伤的图片
唯美意境伤感图片
只有字的伤感图片
说说图片
伤心的图片
美甲图片
图片大全
情感图片
微信头像男
动态壁纸
动漫配图
伤感图片
首页
>
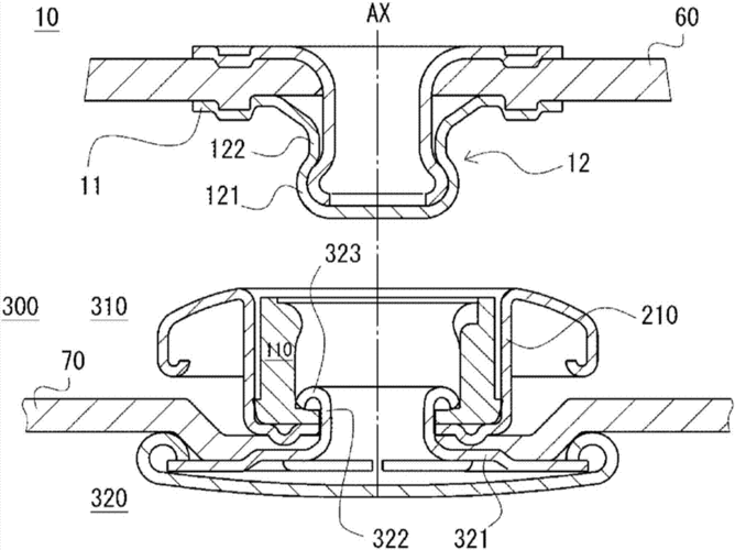
按扣的结构
按扣的结构,纽扣按扣
扣子钮扣皮衣按扣暗扣子母扣摁扣四合
母按扣的上部结构体,母按扣以及将母按扣安装于布料的
汽车双层脚垫防滑卡扣 可拆卸丝圈改装纽扣 固定扣子按扣金属摁扣
4号按扣20粒黑色 隐形暗扣金属子母扣宝宝衣服摁扣
diy钮扣扣子专卖按扣暗扣揿扣大衣内扣服装辅料现货17mm
更多推荐
纽扣按扣
按扣
四合按扣
大按扣
按扣怎么装
按扣图片
钉按扣
按扣的种类和图片
包的结构
大按扣图片
四合扣暗扣拆的图解
按扣怎么装图解
塑料按扣怎么装
热气球的结构
花的结构
按扣简笔画
种子的结构
鱼的结构
高的结构
衣服上的暗扣拆的图解
结构
四合扣安装方法
结构胶
显微镜的基本结构
花的结构示意图
四合扣安装方法图解
眼睛结构
人体结构
心脏结构
原子结构示意图