首页
伤感说说
动漫配图
心情说说
抖音文案
伤感图片
伤感说说:
伤感的句子说说心情
空间说说
心情说说
爱情说说
女生伤感说说
人生感悟
心情不好的说说
说说带图片
关于生活的说说
说说心情短语
qq空间说说带图片
个性说说
励志名言
一句话经典语录
感悟人生的经典句子
短句吧
情感故事
抖音文案
伤感图片:
伤感图片带字
非主流伤感图片
唯美伤感图片
女生伤感图片
唯美意境图片
悲伤的图片
唯美意境伤感图片
只有字的伤感图片
说说图片
伤心的图片
美甲图片
图片大全
情感图片
微信头像男
动态壁纸
动漫配图
伤感图片
首页
>
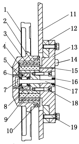
锯床主动轮结构图
锯床主动轮结构图,锯床蜗轮箱结构图
摘要 本实用新型公开了一种卧式带锯床,包括主动轮,被动轮,柱套,锯梁
主动轮部分
摘要 本发明涉及一种金属带锯床主传动装置,包括主动锯轮,电机和锯架
供应带锯床配件,带锯轮被动轮主动轮
自动锯床内部结构图
更多推荐
锯床蜗轮箱结构图
锯床配件组成图
锯床主动轮换轴承
锯床配件图片大全
锯床结构图
锯床结构示意图
锯床调速阀结构图
锯床结构简图
带锯机图片结构图
锯床液压油缸结构图
大型带锯床锯床
锯床液压系统图
自动锯床
全自动锯床
锯力煌锯床
锯床电路图
老式锯床电气原理图
结构图
带锯床液压原理图
锯床价格及图片大全
齿轮关节结构图
锯床
人体肌肉结构图示意图
锯床卧式
立式锯床
锯床普通
圆盘锯床
锯床电气控制电路图
微型锯床
显微镜的结构图