首页
伤感说说
动漫配图
心情说说
抖音文案
伤感图片
伤感说说:
伤感的句子说说心情
空间说说
心情说说
爱情说说
女生伤感说说
人生感悟
心情不好的说说
说说带图片
关于生活的说说
说说心情短语
qq空间说说带图片
个性说说
励志名言
一句话经典语录
感悟人生的经典句子
短句吧
情感故事
抖音文案
伤感图片:
伤感图片带字
非主流伤感图片
唯美伤感图片
女生伤感图片
唯美意境图片
悲伤的图片
唯美意境伤感图片
只有字的伤感图片
说说图片
伤心的图片
美甲图片
图片大全
情感图片
微信头像男
动态壁纸
动漫配图
伤感图片
首页
>
陶瓷结构图
陶瓷结构图,陶瓷结构
陶瓷材料的结构选编.ppt
结构陶瓷ppt课件
卫生陶瓷烧成中,在冷却带结构处理方面,除了采取延长冷却段比例外
定制氧化锆精密陶瓷零部件氧化铝工业电子陶瓷结构件氮碳化硅加工
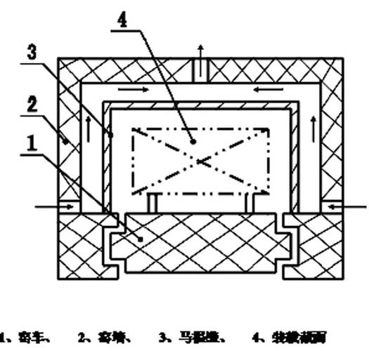
陶艺百科陶瓷窑炉进化史2
更多推荐
陶瓷结构
陶瓷罐子结构图
陶瓷窑炉结构示意图
烧陶瓷的窑结构图
陶瓷多管除尘器结构图
陶瓷柱塞泵结构图
陶瓷图片
结构图
皮肤结构图
大脑结构图
肺的结构图
yb型陶瓷柱塞泵结构图
人体结构图
耳朵结构图
陶瓷多管除尘器示意图
陶瓷简单
陶瓷
心脏结构图
耐酸陶瓷泵
头骨结构图
细胞结构图
冠珠陶瓷
手绘陶瓷设计图
胃的结构图
陶瓷碗
圣堡龙陶瓷
陶瓷杯
眼睛的结构图
威尔斯陶瓷
陶瓷刀