首页
伤感说说
动漫配图
心情说说
抖音文案
伤感图片
伤感说说:
伤感的句子说说心情
空间说说
心情说说
爱情说说
女生伤感说说
人生感悟
心情不好的说说
说说带图片
关于生活的说说
说说心情短语
qq空间说说带图片
个性说说
励志名言
一句话经典语录
感悟人生的经典句子
短句吧
情感故事
抖音文案
伤感图片:
伤感图片带字
非主流伤感图片
唯美伤感图片
女生伤感图片
唯美意境图片
悲伤的图片
唯美意境伤感图片
只有字的伤感图片
说说图片
伤心的图片
美甲图片
图片大全
情感图片
微信头像男
动态壁纸
动漫配图
伤感图片
首页
>
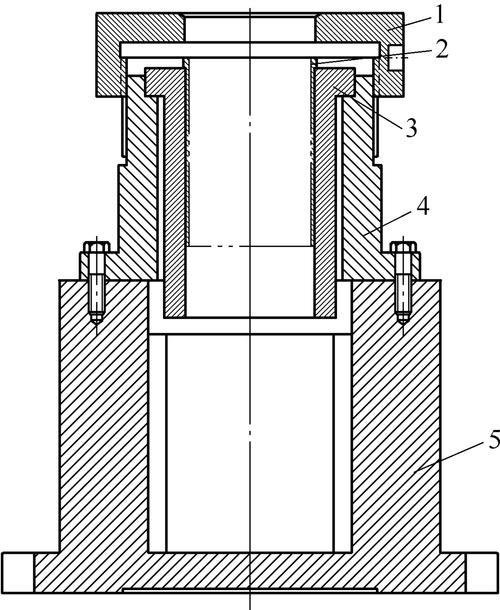
简易自定心夹具结构
简易自定心夹具结构,夹具结构简图
涨紧自定心夹具的结构现在可以全掌握了
虎钳五轴铣床cnc虎钳精密平口钳自动找中心夹具btmg110五轴自定心虎钳
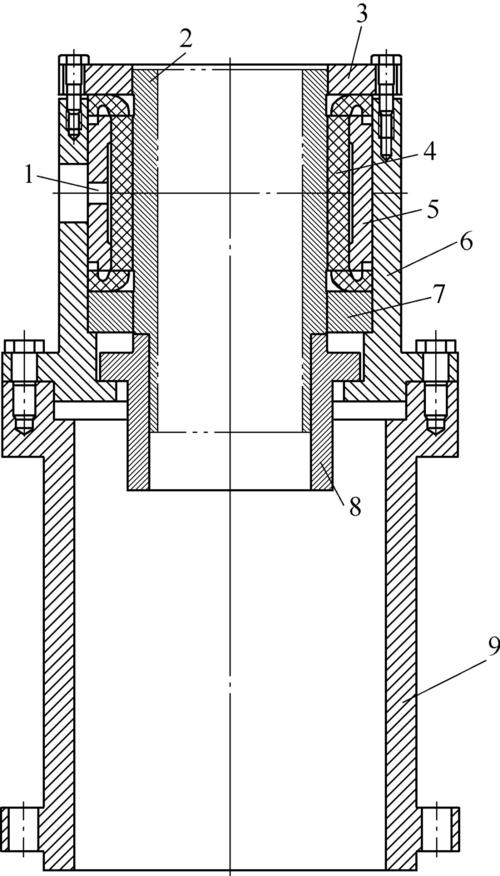
数控珩磨液压自定心夹具的研制
数控珩磨液压自定心夹具的研制
34, 自定心夹具四对于这种调整,动图最后一个场景显示了如何移动一个v
更多推荐
夹具结构简图
典型夹具结构简图
内撑夹具结构
简易c型夹具
简易圆柱夹具
简易气动夹具原理图
简易夹具图片
汽车夹具结构示意图
简易机械夹爪结构
简易180度翻转夹具
简易呼吸器结构
固定夹具图片
简易二次结构浇筑泵
夹具
圆柱体快速装夹夹具
花的结构简易图
内撑夹具图纸
耳朵的结构简易
组合夹具
夹具设计
焊接夹具
圆管万能夹具
内膨胀夹具
内撑夹具原理
内涨夹具图纸
方形内撑夹具
圆管快速夹具
翻转夹具
手动夹具大全
圆柱夹具