首页
伤感说说
动漫配图
心情说说
抖音文案
伤感图片
伤感说说:
伤感的句子说说心情
空间说说
心情说说
爱情说说
女生伤感说说
人生感悟
心情不好的说说
说说带图片
关于生活的说说
说说心情短语
qq空间说说带图片
个性说说
励志名言
一句话经典语录
感悟人生的经典句子
短句吧
情感故事
抖音文案
伤感图片:
伤感图片带字
非主流伤感图片
唯美伤感图片
女生伤感图片
唯美意境图片
悲伤的图片
唯美意境伤感图片
只有字的伤感图片
说说图片
伤心的图片
美甲图片
图片大全
情感图片
微信头像男
动态壁纸
动漫配图
伤感图片
首页
>
升降台原理图
升降台原理图,升降平台工作原理图
100kg手动液压升降平台的设计
电梯液压升降机
它的剪叉机械结构,使升降台起升有较高的稳定性,宽大的作业
液压升降平台液压系统原理图
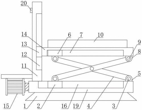
一种万能升降台铣床的自动升降台结构的制作方法
更多推荐
升降平台工作原理图
升降台轻型
升降机结构简图
升降台电路图
升降台结构图
升降台模型
升降台怎么画
升降装置原理图
升降台
升降台动图
原理图工作原理
升降台工作原理
升降台图片
舞台升降台
原理图
液压原理图
简单原理图
原理图实物
液压升降台
升降台结构
剪叉升降台
pcb原理图
化学升降台简图
ad原理图
电气原理图
仪器升降台
永动机原理图
电动升降台
单片机原理图
工地升降台