首页
伤感说说
动漫配图
心情说说
抖音文案
伤感图片
伤感说说:
伤感的句子说说心情
空间说说
心情说说
爱情说说
女生伤感说说
人生感悟
心情不好的说说
说说带图片
关于生活的说说
说说心情短语
qq空间说说带图片
个性说说
励志名言
一句话经典语录
感悟人生的经典句子
短句吧
情感故事
抖音文案
伤感图片:
伤感图片带字
非主流伤感图片
唯美伤感图片
女生伤感图片
唯美意境图片
悲伤的图片
唯美意境伤感图片
只有字的伤感图片
说说图片
伤心的图片
美甲图片
图片大全
情感图片
微信头像男
动态壁纸
动漫配图
伤感图片
首页
>
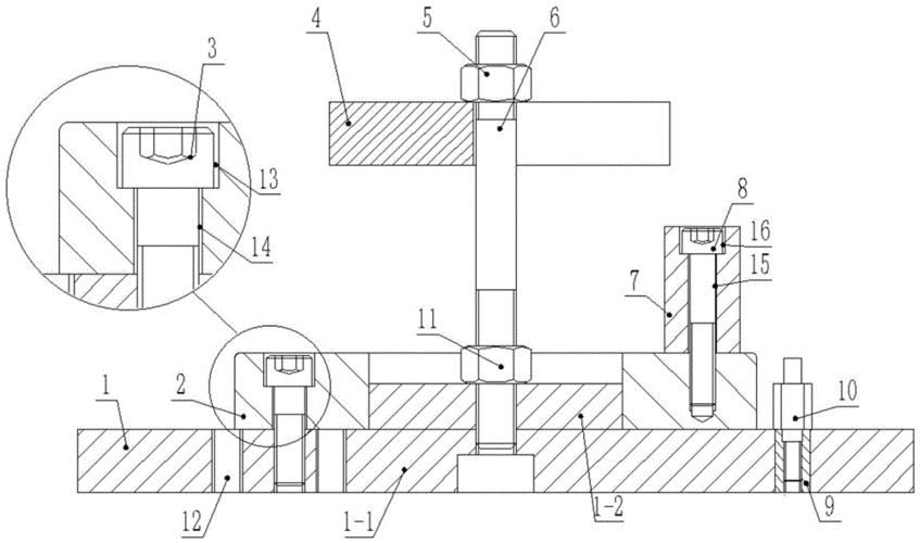
焊接夹具定位销设计
焊接夹具定位销设计,焊接夹具设计
谁有这个图的cad,发一下,定位销的夹具. 好的追加
夹具定位销及支撑
jbt801431999机床夹具零件及部件可换定位销
定位销零件机械加工工艺及夹具设计-铣尺寸45的两端面夹具
一种夹持盘体工件转位的夹具的制作方法
更多推荐
焊接夹具设计
焊接工装夹具定位器
焊接定位销
焊接夹具
夹具设计毕业设计
焊接万能夹具
夹具设计
夹具设计实例
夹具设计步骤
夹具设计装配图
夹具设计教程
钻床夹具设计
夹具设计图纸
拨叉夹具设计
焊接图形设计
焊接工装设计
钻孔夹具设计
机床夹具设计
固定式定位销的画法
工装夹具设计大全
焊接作品图片设计
弹簧定位销原理图
弹簧定位销
加工中心夹具设计
定位销装配
焊接名片设计图片
定位销零件图
工装夹具设计实例100
定位销装配图
创意焊接简单设计图