首页
伤感说说
动漫配图
心情说说
抖音文案
伤感图片
伤感说说:
伤感的句子说说心情
空间说说
心情说说
爱情说说
女生伤感说说
人生感悟
心情不好的说说
说说带图片
关于生活的说说
说说心情短语
qq空间说说带图片
个性说说
励志名言
一句话经典语录
感悟人生的经典句子
短句吧
情感故事
抖音文案
伤感图片:
伤感图片带字
非主流伤感图片
唯美伤感图片
女生伤感图片
唯美意境图片
悲伤的图片
唯美意境伤感图片
只有字的伤感图片
说说图片
伤心的图片
美甲图片
图片大全
情感图片
微信头像男
动态壁纸
动漫配图
伤感图片
首页
>
砂带机调偏轮构造图
砂带机调偏轮构造图,自制砂带机调偏装置
动轮带机铝轮调偏轮抛光机张紧轮胶轮全铝轮砂带套其他机械五金(新)
砂带机调偏轮φ6抛*木0铝轮光面同步从i动轮8光机被动轮5工diy
yl小型 立卧两用型砂带机 砂带抛光机 多功能砂带机 三角拉丝机
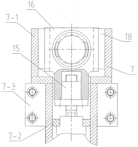
一种适用于砂带机的自动调偏装置的制作方法
砂带机抛光轮砂带机主动轮调偏铝芯橡胶轮砂带套轮非标橡胶轮定做
更多推荐
自制砂带机调偏装置
一个国外的砂带机图纸
自己做砂带机
自制砂带机主动轮
砂带机砂带规格
如何自制砂带机图解
自制砂带机图纸尺寸
砂带机制作详细图纸
915砂带机图纸
砂带机设计图
砂带机图片
立式砂带机图片
砂带机图片自制
砂带机
砂带机价格及图片
自制简单实用砂带机图
微型砂带机
双头砂带机
小型砂带机
砂带机自制
家用砂带机
砂带机架子制作
身体构造结构图器官图
木工砂带机
大型砂带机
砂带机价格
小型家用砂带机
牛人自制一台砂带机
汽车底盘构造图解
腰椎图片构造图解