首页
伤感说说
动漫配图
心情说说
抖音文案
伤感图片
伤感说说:
伤感的句子说说心情
空间说说
心情说说
爱情说说
女生伤感说说
人生感悟
心情不好的说说
说说带图片
关于生活的说说
说说心情短语
qq空间说说带图片
个性说说
励志名言
一句话经典语录
感悟人生的经典句子
短句吧
情感故事
抖音文案
伤感图片:
伤感图片带字
非主流伤感图片
唯美伤感图片
女生伤感图片
唯美意境图片
悲伤的图片
唯美意境伤感图片
只有字的伤感图片
说说图片
伤心的图片
美甲图片
图片大全
情感图片
微信头像男
动态壁纸
动漫配图
伤感图片
首页
>
玻璃幕墙挂件
玻璃幕墙挂件,玻璃幕墙
开口型单元式玻璃幕墙铝合金挂件
铝合金挂件 幕墙配件 大理石石材干挂件幕墙配件 墙板瓷砖挂件
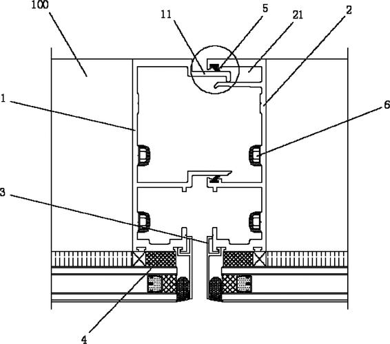
本实用新型属于玻璃幕墙技术领域,涉及一种单元式幕墙系统的转角结构.
河南幕墙挂件厂家
幕墙挂件
更多推荐
玻璃幕墙
隐框玻璃幕墙
玻璃幕墙外观
玻璃幕墙室内
全玻璃幕墙
玻璃幕墙门头
玻璃幕墙龙骨
玻璃幕墙图片
明框玻璃幕墙
商场玻璃幕墙
玻璃幕墙素材
别墅玻璃幕墙
玻璃幕墙立面
玻璃幕墙效果图
外墙玻璃幕墙报价表
玻璃幕墙平面图
玻璃幕墙铝合金
玻璃幕墙立面图
玻璃幕墙施工工艺图解
玻璃幕墙报价单价表
隐框玻璃幕墙节点详图
玻璃幕墙包工明细报价
挂件
小挂件
挂件自己
钥匙挂件
挂件题材
翡翠挂件
挂件图片大全
汽车挂件