首页
伤感说说
动漫配图
心情说说
抖音文案
伤感图片
伤感说说:
伤感的句子说说心情
空间说说
心情说说
爱情说说
女生伤感说说
人生感悟
心情不好的说说
说说带图片
关于生活的说说
说说心情短语
qq空间说说带图片
个性说说
励志名言
一句话经典语录
感悟人生的经典句子
短句吧
情感故事
抖音文案
伤感图片:
伤感图片带字
非主流伤感图片
唯美伤感图片
女生伤感图片
唯美意境图片
悲伤的图片
唯美意境伤感图片
只有字的伤感图片
说说图片
伤心的图片
美甲图片
图片大全
情感图片
微信头像男
动态壁纸
动漫配图
伤感图片
首页
>
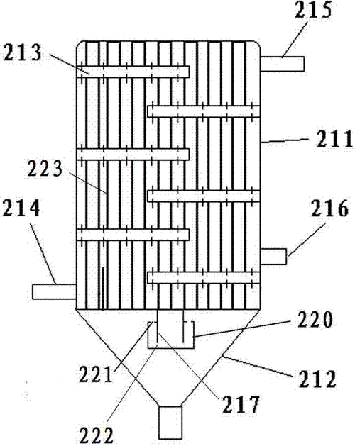
精馏塔溢流堰
精馏塔溢流堰,精馏塔溢流堰示意图
一种化工用带有加压过滤的高效精馏塔的制作方法
cn105771873a 更多 什么是同族 [实用新型] 塔板填料式精馏塔
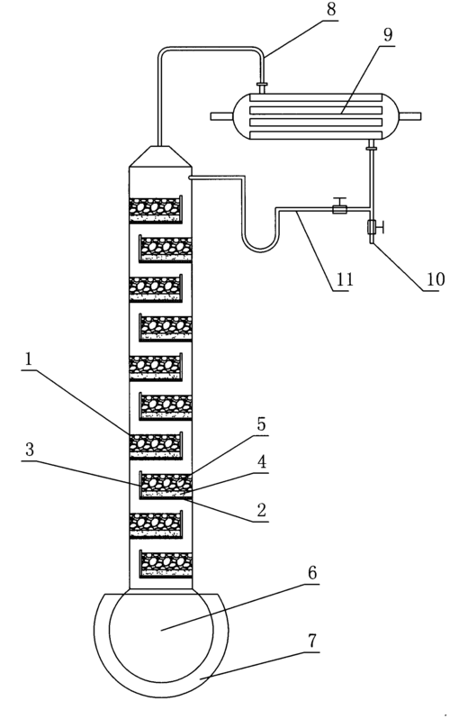
精馏塔设计图(参考)
精馏塔示意图
一种高纯度戊烷板式精馏塔分离系统的制作方法
更多推荐
精馏塔溢流堰示意图
精馏塔流程图
精馏塔工艺流程
溢流堰原理
溢流堰
小型精馏塔
筛板精馏塔
精馏塔
生态溢流堰
景观溢流堰
溢流堰施工工艺流程
溢流堰板
精馏塔简易
沉淀池溢流堰
河道溢流堰
精馏塔的设计
塔板溢流堰结构图
精馏塔结构图
溢流堰示意图
溢流堰结构图
精馏塔设备图
溢流堰的作用
溢流堰设计
精馏塔工艺流程图
精馏塔图片
溢流堰效果图
精馏塔简图
精馏塔装配图
精馏塔设计图
溢流堰设计图