首页
伤感说说
动漫配图
心情说说
抖音文案
伤感图片
伤感说说:
伤感的句子说说心情
空间说说
心情说说
爱情说说
女生伤感说说
人生感悟
心情不好的说说
说说带图片
关于生活的说说
说说心情短语
qq空间说说带图片
个性说说
励志名言
一句话经典语录
感悟人生的经典句子
短句吧
情感故事
抖音文案
伤感图片:
伤感图片带字
非主流伤感图片
唯美伤感图片
女生伤感图片
唯美意境图片
悲伤的图片
唯美意境伤感图片
只有字的伤感图片
说说图片
伤心的图片
美甲图片
图片大全
情感图片
微信头像男
动态壁纸
动漫配图
伤感图片
首页
>
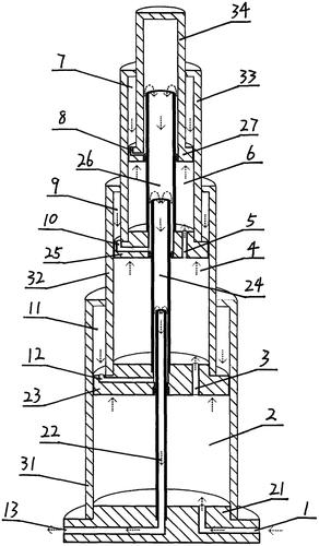
双作用油缸示意图
双作用油缸示意图,油缸结构图片
一种带内置伸缩油管的双作用多级液压缸
hs40缸径液压油缸 小型液压油缸 双耳油缸双作用油缸
cn112211877a_一种多级套筒式双作用顺序伸缩液压缸
单活塞杆双作用液压缸cad总装配图纸dwg图纸
油压千斤顶 双作用中空型液压油缸 clrg型 【卓泰液压】优质供应
更多推荐
油缸结构图片
液压油缸图片大全
油缸油封安装方法组图
油缸图片大全
子宫图结构示意图
油缸结构
示意图
油缸
油缸管
液压油缸怎么拆卸图片
液压油缸油封型号大全
液压油缸规格
油缸缸径与推力对照表
地机准确位置图和作用
花的结构示意图
厨房油缸
人体肌肉结构图示意图
油缸型号大全
液压油缸
旋转油缸
液压油缸型号
阳池的位置图和作用
液压油缸活塞杆修复
液压油缸密封圈安装
挖掘机油缸
中脘的准确位置图作用
鱼际的位置图和作用
血海的准确位置图作用
回转油缸
海沃油缸