首页
伤感说说
动漫配图
心情说说
抖音文案
伤感图片
伤感说说:
伤感的句子说说心情
空间说说
心情说说
爱情说说
女生伤感说说
人生感悟
心情不好的说说
说说带图片
关于生活的说说
说说心情短语
qq空间说说带图片
个性说说
励志名言
一句话经典语录
感悟人生的经典句子
短句吧
情感故事
抖音文案
伤感图片:
伤感图片带字
非主流伤感图片
唯美伤感图片
女生伤感图片
唯美意境图片
悲伤的图片
唯美意境伤感图片
只有字的伤感图片
说说图片
伤心的图片
美甲图片
图片大全
情感图片
微信头像男
动态壁纸
动漫配图
伤感图片
首页
>
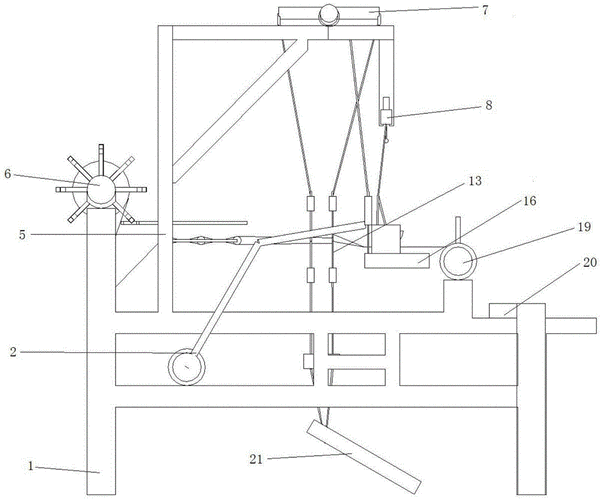
纺织机结构图
纺织机结构图,纺织机结构
老式织布机
便于纺织同行全面熟悉织布机说明,织布机原理,织布机参数,圆盘织机
这是说周京以东的地区,织布机上的布被搜括一空.
老式织布机
其特征在于:所述机架为框架结构,所述机架在卷布辊一侧设有活板,所述
更多推荐
纺织机结构
现代纺织机图片
纺织机
小型纺织机
全自动纺织机
现代纺织机
工业纺织机
传统纺织机
大型纺织机
第一台纺织机
蒸汽纺织机
欧洲纺织机
纺织机卡通
珍妮纺织机
纺织机配件大全
棉花纺织机
英国纺织机
布料纺织机
飞梭纺织机
纺织机简笔画
结构图
中国古代纺织机
人体结构图
肺的结构图
心脏结构图
耳朵结构图
大脑结构图
人的身体结构图
眼睛的结构图
古代纺织机简笔画