首页
伤感说说
动漫配图
心情说说
抖音文案
伤感图片
伤感说说:
伤感的句子说说心情
空间说说
心情说说
爱情说说
女生伤感说说
人生感悟
心情不好的说说
说说带图片
关于生活的说说
说说心情短语
qq空间说说带图片
个性说说
励志名言
一句话经典语录
感悟人生的经典句子
短句吧
情感故事
抖音文案
伤感图片:
伤感图片带字
非主流伤感图片
唯美伤感图片
女生伤感图片
唯美意境图片
悲伤的图片
唯美意境伤感图片
只有字的伤感图片
说说图片
伤心的图片
美甲图片
图片大全
情感图片
微信头像男
动态壁纸
动漫配图
伤感图片
首页
>
制造甲基苯丙胺
制造甲基苯丙胺,甲基苯丙胺制作步骤
2013年底,蒋某在网上看见一篇关于制造甲基苯丙胺(冰毒)的文章
潮州警方破获特大制造毒品案,抓获涉毒犯罪嫌疑人8名
甲基苯丙胺制作流程图
可卡因,甲基苯丙胺(冰毒)等皆属此类
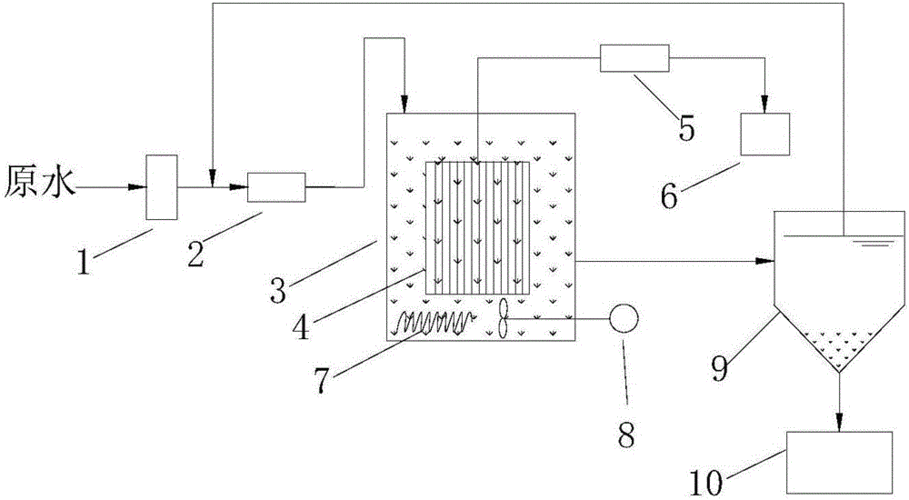
一种膜蒸馏结晶处理装置制造方法及图纸,甲基苯丙胺
更多推荐
甲基苯丙胺制作步骤
甲基苯丙胺制作教学
右旋甲基苯丙胺
甲基苯丙胺化学结构
碘红磷法脱氧麻黄素图
麻黄素红磷还原法图
甲基麻黄碱
甲基苯丙胺
甲基苯丙胺盐酸盐
甲基苯丙胺图片
甲基苯丙胺结构
右旋甲基苯丙胺制作
甲基苯丙胺结构图
甲基苯丙胺化学式
甲基苯丙胺分子式
甲基苯丙胺结构式
甲基苯丙胺盐酸盐原料
甲基苯丙胺盐酸盐结晶
甲基苯丙胺化学式图
甲基苯丙胺结构简式
甲基苯丙胺化学结构图
甲基苯丙胺结构式图片
甲基苯丙胺分子结构式
制造
装备制造
美人制造
美人制造剧照
芯片制造
高端制造
5G智能制造