首页
伤感说说
动漫配图
心情说说
抖音文案
伤感图片
伤感说说:
伤感的句子说说心情
空间说说
心情说说
爱情说说
女生伤感说说
人生感悟
心情不好的说说
说说带图片
关于生活的说说
说说心情短语
qq空间说说带图片
个性说说
励志名言
一句话经典语录
感悟人生的经典句子
短句吧
情感故事
抖音文案
伤感图片:
伤感图片带字
非主流伤感图片
唯美伤感图片
女生伤感图片
唯美意境图片
悲伤的图片
唯美意境伤感图片
只有字的伤感图片
说说图片
伤心的图片
美甲图片
图片大全
情感图片
微信头像男
动态壁纸
动漫配图
伤感图片
首页
>
举升机原理图解
举升机原理图解,举升机原理图
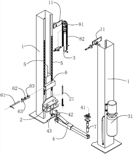
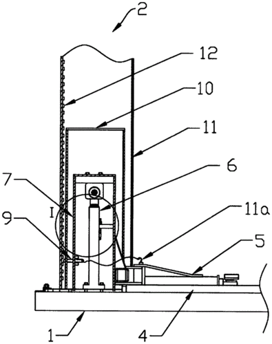
外置保险型汽车举升机的制作方法
汽车维修专用液压双柱提升机举升机设计
液压传动式双柱举升机抖动故障的解决方案
可调节底板式双柱举升机制造技术
一种双柱举升机及包含其的多功能互联维修车的制作方法
更多推荐
举升机原理图
举升机图片
双柱举升机图片
举升机顶什么位置图解
汽车举升机支撑点图解
举升机
优耐特举升机
龙门举升机图片
举升机安装
剪式举升机
小剪举升机
双柱举升机
大剪举升机
双柱式举升机
汽车举升机
举升机尺寸
举升机合格证图片
元征举升机
四柱举升机
二柱举升机地基安装图
龙门举升机高度
龙门举升机
元征举升机龙门
举升机合格证
高昌举升机
电动机原理
发电机原理
元征举升机合格证
杠杆原理公式及图解
飞机起飞原理