首页
伤感说说
动漫配图
心情说说
抖音文案
伤感图片
伤感说说:
伤感的句子说说心情
空间说说
心情说说
爱情说说
女生伤感说说
人生感悟
心情不好的说说
说说带图片
关于生活的说说
说说心情短语
qq空间说说带图片
个性说说
励志名言
一句话经典语录
感悟人生的经典句子
短句吧
情感故事
抖音文案
伤感图片:
伤感图片带字
非主流伤感图片
唯美伤感图片
女生伤感图片
唯美意境图片
悲伤的图片
唯美意境伤感图片
只有字的伤感图片
说说图片
伤心的图片
美甲图片
图片大全
情感图片
微信头像男
动态壁纸
动漫配图
伤感图片
首页
>
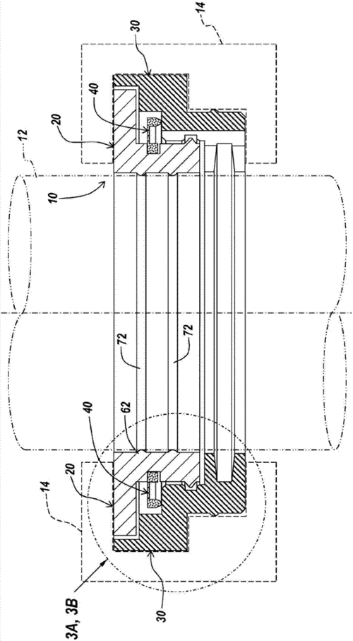
迷宫式密封槽
迷宫式密封槽,主轴迷宫式密封
迷宫密封
托辊内部采用的密封是轴 向非接触迷宫式密封,其特点是在内,外密封件
非接触的迷宫式密封组件的制作方法
一种电主轴多层迷宫槽式密封结构的制作方法
卡麦龙氮压机迷宫密封,为什么不需要充入密封气
更多推荐
主轴迷宫式密封
迷宫密封
密封垫片迷宫式拼接
迷宫式密封动画演示
迷宫式密封结构图片
迷宫式密封圈524
迷宫式油封图片
迷宫式拼接
接触式密封
非接触式密封
密封式振动筛
心迷宫
迷宫
填料密封
简单迷宫
迷宫设计
密封
心迷宫剧照
密封环
恐怖迷宫
儿童迷宫图
史上最难迷宫
磁流体密封
迷宫简图
7岁迷宫
儿童迷宫
软密封闸阀
迷宫地图
密封垫
密封浴桶