首页
伤感说说
动漫配图
心情说说
抖音文案
伤感图片
伤感说说:
伤感的句子说说心情
空间说说
心情说说
爱情说说
女生伤感说说
人生感悟
心情不好的说说
说说带图片
关于生活的说说
说说心情短语
qq空间说说带图片
个性说说
励志名言
一句话经典语录
感悟人生的经典句子
短句吧
情感故事
抖音文案
伤感图片:
伤感图片带字
非主流伤感图片
唯美伤感图片
女生伤感图片
唯美意境图片
悲伤的图片
唯美意境伤感图片
只有字的伤感图片
说说图片
伤心的图片
美甲图片
图片大全
情感图片
微信头像男
动态壁纸
动漫配图
伤感图片
首页
>
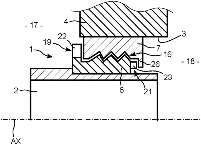
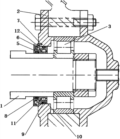
迷宫式密封结构图片
迷宫式密封结构图片,迷宫密封结构图解
输油泵轴承体迷宫密封漏油分析及改进 点是无机械摩擦,结构紧凑
通过增材制造获得的非接触式迷宫式密封件的制作方法
非接触的迷宫式密封组件的制作方法
一种轴承室用迷宫密封
迷宫密封原理及结构
更多推荐
迷宫密封结构图解
迷宫式油封图片
迷宫式密封动画演示
迷宫图片
迷宫图片复杂
迷宫密封
迷宫图片简单
高级迷宫图片
迷宫密封原理动画演示
子宫图结构示意图
迷宫图片幼儿园
迷宫简图
儿童迷宫图
正规标书密封图片
花的结构示意图
原子结构示意图
迷宫地图
人体结构图
小学生迷宫图
人体结构示意图器官
迷宫设计
密封垫片
简单迷宫
结构
结构胶
迷宫怎么画
迷宫
迷宫简笔画
消化系统结构简图
密封