首页
伤感说说
动漫配图
心情说说
抖音文案
伤感图片
伤感说说:
伤感的句子说说心情
空间说说
心情说说
爱情说说
女生伤感说说
人生感悟
心情不好的说说
说说带图片
关于生活的说说
说说心情短语
qq空间说说带图片
个性说说
励志名言
一句话经典语录
感悟人生的经典句子
短句吧
情感故事
抖音文案
伤感图片:
伤感图片带字
非主流伤感图片
唯美伤感图片
女生伤感图片
唯美意境图片
悲伤的图片
唯美意境伤感图片
只有字的伤感图片
说说图片
伤心的图片
美甲图片
图片大全
情感图片
微信头像男
动态壁纸
动漫配图
伤感图片
首页
>
竖管式蒸发器
竖管式蒸发器,管式蒸发器
标准型蒸发器/中央循环管式蒸发器的蒸发主要任务
中央循环管式蒸发器制造技术
中央循环管式蒸发器总图
竖管式蒸发器
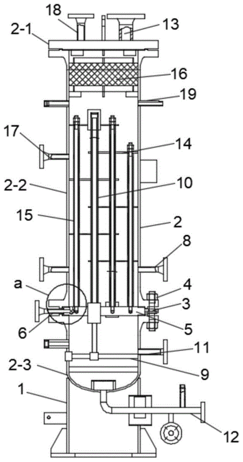
液氨列管式蒸发器装置的制作方法
更多推荐
管式蒸发器
卧式壳管式蒸发器
丝管式蒸发器
盘管式蒸发器
干式壳管式蒸发器
降膜式蒸发器
悬筐式蒸发器
膜式蒸发器
吹胀式蒸发器
蒸发器与冷凝器
翅片式蒸发器
刮板式蒸发器
蒸汽蒸发器
外加热式蒸发器
板管式蒸发器的图片
降膜式蒸发器原理
蒸发器
中央循环管式蒸发器
降膜蒸发器
降膜式蒸发器结构图
空调冷凝器和蒸发器
空调蒸发器
废水蒸发器
单效蒸发器
三效蒸发器
满液式蒸发器结构图
蒸发器原理图
mvr蒸发器
冰箱蒸发器
薄膜蒸发器