首页
伤感说说
动漫配图
心情说说
抖音文案
伤感图片
伤感说说:
伤感的句子说说心情
空间说说
心情说说
爱情说说
女生伤感说说
人生感悟
心情不好的说说
说说带图片
关于生活的说说
说说心情短语
qq空间说说带图片
个性说说
励志名言
一句话经典语录
感悟人生的经典句子
短句吧
情感故事
抖音文案
伤感图片:
伤感图片带字
非主流伤感图片
唯美伤感图片
女生伤感图片
唯美意境图片
悲伤的图片
唯美意境伤感图片
只有字的伤感图片
说说图片
伤心的图片
美甲图片
图片大全
情感图片
微信头像男
动态壁纸
动漫配图
伤感图片
首页
>
反应器图片
反应器图片,反应器
加氢反应器完工,中国一重重点项目产品为经济发展"加油"
各种釜式反应器,反应原理,结构组成,还不赶紧收藏!
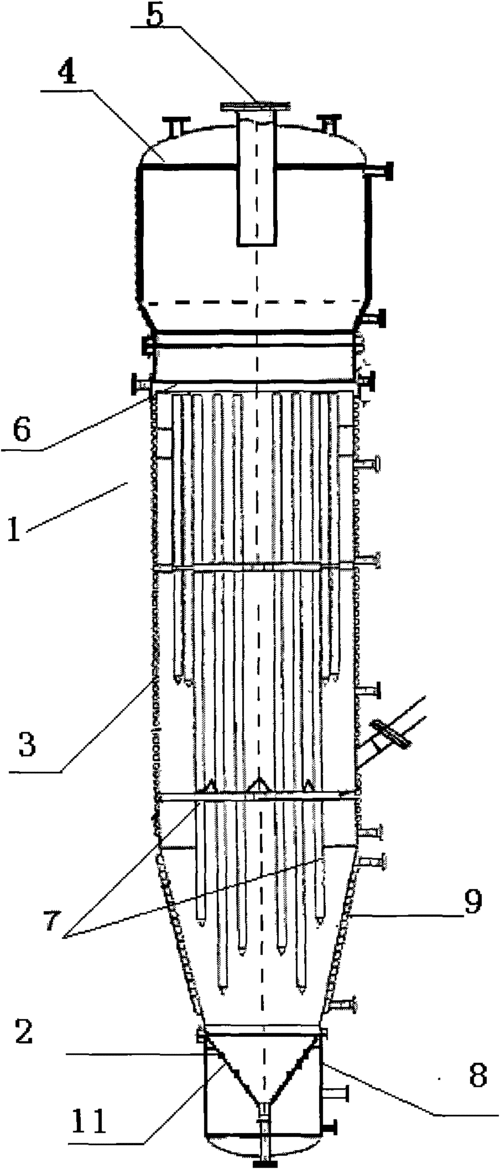
一种苯气相加氢固定床列管反应器的制作方法
cn102000535a_一种流化床反应器失效
cn201529518u_气-液-固三相固定鼓泡床反应器有效
更多推荐
反应器
加氢反应器
固定床反应器图片
脱硝反应器结构图
塔式反应器
釜式反应器图片
工业反应器
化学反应器图片
塔式反应器图片
流化床反应器图片
反应器结构
微反应器
芬顿反应器
ic反应器
厌氧反应器
微波反应器
釜式反应器
微通道反应器
流化床反应器
固定床反应器
cstr反应器
实验室反应器
固定床反应器设备图
滴流床反应器
uasb反应器
管式反应器
scr反应器
平推流反应器
生物反应器
固定床反应器cad图