首页
伤感说说
动漫配图
心情说说
抖音文案
伤感图片
伤感说说:
伤感的句子说说心情
空间说说
心情说说
爱情说说
女生伤感说说
人生感悟
心情不好的说说
说说带图片
关于生活的说说
说说心情短语
qq空间说说带图片
个性说说
励志名言
一句话经典语录
感悟人生的经典句子
短句吧
情感故事
抖音文案
伤感图片:
伤感图片带字
非主流伤感图片
唯美伤感图片
女生伤感图片
唯美意境图片
悲伤的图片
唯美意境伤感图片
只有字的伤感图片
说说图片
伤心的图片
美甲图片
图片大全
情感图片
微信头像男
动态壁纸
动漫配图
伤感图片
首页
>
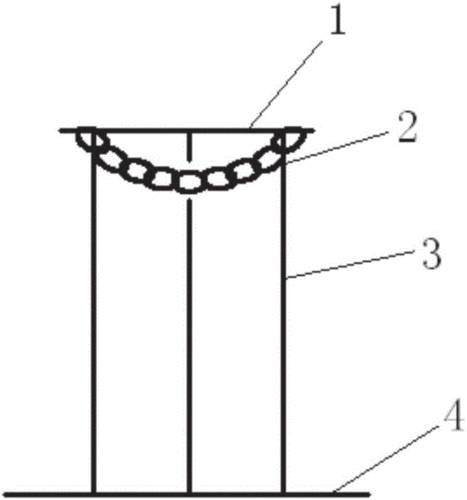
气瓶固定三角支架
气瓶固定三角支架,医用气瓶固定架
可移动式气瓶固定支架_带侧轮有扶手的氧气瓶固定架_钢瓶防倾倒架
便携式乙炔气瓶固定支架制造技术
氧气瓶固定支架 实验室气瓶架防倒架钢瓶支架不锈钢气瓶架子40l
气瓶钢瓶固定架安全架存放架氧气氩气乙炔瓶放置架侨昱不锈钢加厚
氧气瓶固定架 气瓶固定支架 钢瓶固定支架
更多推荐
医用气瓶固定架
气瓶三角支架
钢瓶支架
气瓶架子图片
工地简易氧气瓶支架
气瓶固定装置
氧气瓶固定支架
气瓶固定支架
气瓶支架钢瓶支架
气瓶防倾倒架子
二氧化碳气瓶固定架
气瓶固定支架尺寸
三角固定支架
气瓶固定架
气瓶固定架子
标准气瓶固定架
固定支架和滑动支架
三角支架托架
乙炔瓶固定支架
不锈钢三角支架托架
承重三角支架托架
角铁三角支架
三角支架
气瓶固定链
桥架固定支架
氧气瓶直立固定架
管道固定支架
手机三角支架
自制三角支架
氧气瓶固定架图片