首页
伤感说说
动漫配图
心情说说
抖音文案
伤感图片
伤感说说:
伤感的句子说说心情
空间说说
心情说说
爱情说说
女生伤感说说
人生感悟
心情不好的说说
说说带图片
关于生活的说说
说说心情短语
qq空间说说带图片
个性说说
励志名言
一句话经典语录
感悟人生的经典句子
短句吧
情感故事
抖音文案
伤感图片:
伤感图片带字
非主流伤感图片
唯美伤感图片
女生伤感图片
唯美意境图片
悲伤的图片
唯美意境伤感图片
只有字的伤感图片
说说图片
伤心的图片
美甲图片
图片大全
情感图片
微信头像男
动态壁纸
动漫配图
伤感图片
首页
>
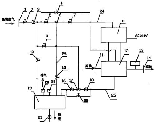
流体输送流程图说明
流体输送流程图说明,流体输送流程图
cn104363938a_流体输送中的堵塞检测有效
气力输送工艺流程图
化工原理 流体输送机械 课件ppt
cn101334129a_定流量流体输送系统失效
流体输送技术课件任务五认识离心泵及离心泵的操作ppt
更多推荐
流体输送流程图
流体输送装置流程图
流体输送工艺流程图
程序流程图的图形说明
销售流程图及流程说明
采购流程说明及流程图
流程图的图形说明
流体输送思维导图
流体输送装置
流体输送
流体输送机械
流体输送机械思维导图
流体输送系统的构成
流程图符号说明
程序流程图
离心泵工艺流程图
商业汇票流程图及说明
流程图
流程图怎么做
流体流动
业务流程图
流程图简单
系统流程图
流程图模板
入党程序9个流程图
流程图卡通图
流程图设计
流程图制作
工作流程图
数学流程图