首页
伤感说说
动漫配图
心情说说
抖音文案
伤感图片
伤感说说:
伤感的句子说说心情
空间说说
心情说说
爱情说说
女生伤感说说
人生感悟
心情不好的说说
说说带图片
关于生活的说说
说说心情短语
qq空间说说带图片
个性说说
励志名言
一句话经典语录
感悟人生的经典句子
短句吧
情感故事
抖音文案
伤感图片:
伤感图片带字
非主流伤感图片
唯美伤感图片
女生伤感图片
唯美意境图片
悲伤的图片
唯美意境伤感图片
只有字的伤感图片
说说图片
伤心的图片
美甲图片
图片大全
情感图片
微信头像男
动态壁纸
动漫配图
伤感图片
首页
>
半轴轴承
半轴轴承,过桥轴承
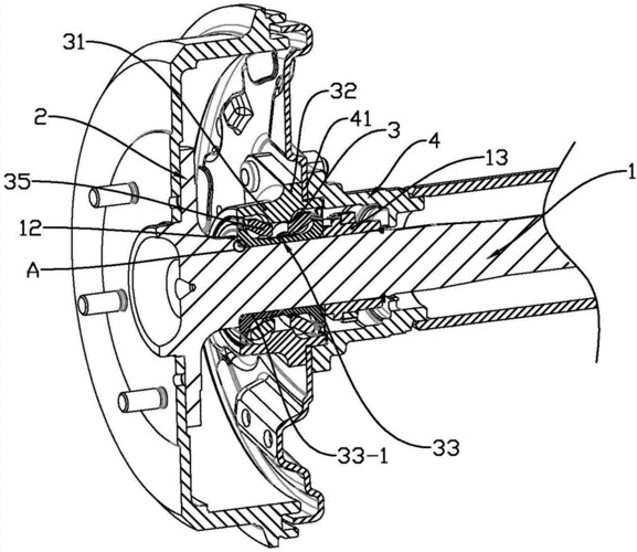
壳外端内孔中的轴承上,半轴端部以具有锥面的轴颈及键与轮毂固定连接
适配标致凯旋308世嘉富康爱丽舍德国半轴轴承
半轴轮毂轴承总成的制作方法
广汽gs5s gs5 gs4 半轴总成 传动轴承总成
电动微型汽车三轮摩托车通用紧固件后桥半轴挡圈轴承隔套轴套衬套
更多推荐
过桥轴承
半轴图解
汽车半轴轴承
半轴拆装图解
传动轴承
半轴齿轮
更换半轴轴承
半轴轴头
半轴过桥轴承
半轴
轴承
前半轴
半轴桥
轴承座
轴承结构
半轴油封
分离轴承
半轴结构
半轴球笼
平面轴承
滚子轴承
轴承型号
轴承端盖
推力轴承
正半轴和负半轴图片
单向轴承
汽车轴承
汽车半轴
半轴螺丝
半轴套管