首页
伤感说说
动漫配图
心情说说
抖音文案
伤感图片
伤感说说:
伤感的句子说说心情
空间说说
心情说说
爱情说说
女生伤感说说
人生感悟
心情不好的说说
说说带图片
关于生活的说说
说说心情短语
qq空间说说带图片
个性说说
励志名言
一句话经典语录
感悟人生的经典句子
短句吧
情感故事
抖音文案
伤感图片:
伤感图片带字
非主流伤感图片
唯美伤感图片
女生伤感图片
唯美意境图片
悲伤的图片
唯美意境伤感图片
只有字的伤感图片
说说图片
伤心的图片
美甲图片
图片大全
情感图片
微信头像男
动态壁纸
动漫配图
伤感图片
首页
>
中频电炉原理及维修
中频电炉原理及维修,中频炉维修电路图
串,并联中频感应电炉原理与特点对比
串联谐振中频炉原理
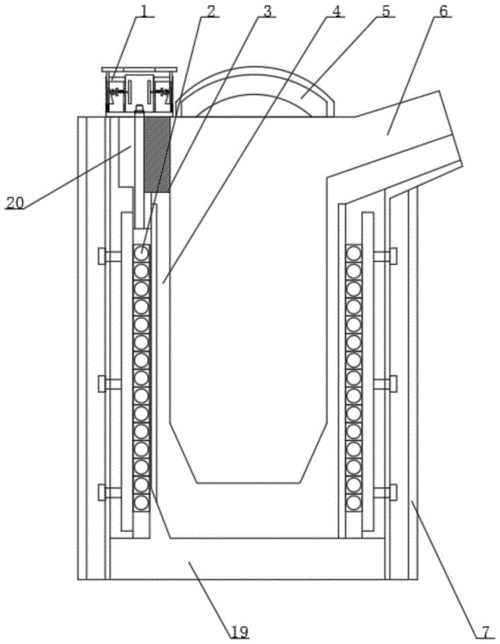
一种中频炉干型砂筑炉的制作方法
中频炉_中频电炉-山东华信电炉有限公司
中频感应电炉铸铁熔炼万不可忽视炉料净化环节
更多推荐
中频炉维修电路图
中频电炉
感应电炉
中频电炉炉料
中频感应电炉
开关电源电路图及原理
电炉丝电炉
中频感应加热炉
中频加热炉
中频感应炉
发电机原理
中频感应加热设备
中频加热线圈
太阳能发电原理
电动机原理
电脑中频治疗仪
中频焊机
中频电疗仪
中频炉
中频逆变点焊机
电炉除尘器
电炉
中频熔炼炉
光伏发电原理
中频加热器
小电炉
变压器原理
高温电炉
冶金电炉
电炉家用