首页
伤感说说
动漫配图
心情说说
抖音文案
伤感图片
伤感说说:
伤感的句子说说心情
空间说说
心情说说
爱情说说
女生伤感说说
人生感悟
心情不好的说说
说说带图片
关于生活的说说
说说心情短语
qq空间说说带图片
个性说说
励志名言
一句话经典语录
感悟人生的经典句子
短句吧
情感故事
抖音文案
伤感图片:
伤感图片带字
非主流伤感图片
唯美伤感图片
女生伤感图片
唯美意境图片
悲伤的图片
唯美意境伤感图片
只有字的伤感图片
说说图片
伤心的图片
美甲图片
图片大全
情感图片
微信头像男
动态壁纸
动漫配图
伤感图片
首页
>
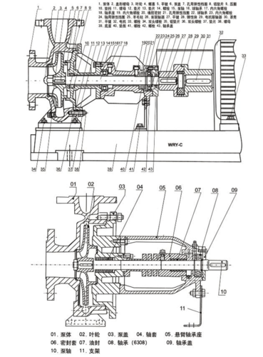
导热油泵拆解图
导热油泵拆解图,导热油泵油封安装图
lqry 耐高温导热油泵
wry导热油泵图
原装德国ksb enanorm syt系列泵浦 导热油泵 油泵维修包
导热油泵结构图片
一种具有良好密封性的导热油泵的制作方法
更多推荐
导热油泵油封安装图
导热油泵结构分解图片
油泵油封正确安装图
油泵解剖图
ksb导热油泵结构图
高温导热油泵结构图
柴油机手油泵图解
导热油泵
洋马高压油泵拆解图
导热油循环泵图解
单缸柴油机油泵拆装图
单缸柴油机油泵解剖图
柴油机手油泵维修图解
五十铃高压油泵拆解图
柴油机油泵工作原理图
潍柴油泵调供油量图解
柴油机高压油泵结构图
洋马油泵油量调整图
柴油泵油量大小调解图
洋马燃油泵分解图
油泵工作原理图
油泵结构图
柴油机放气图解
玉柴油泵调油量螺丝图
柴油机油泵
油泵调油量大小方向图
柴油车手油泵排空气图
柴油泵工作原理图解
油泵图片
泵车主油泵