首页
伤感说说
动漫配图
心情说说
抖音文案
伤感图片
伤感说说:
伤感的句子说说心情
空间说说
心情说说
爱情说说
女生伤感说说
人生感悟
心情不好的说说
说说带图片
关于生活的说说
说说心情短语
qq空间说说带图片
个性说说
励志名言
一句话经典语录
感悟人生的经典句子
短句吧
情感故事
抖音文案
伤感图片:
伤感图片带字
非主流伤感图片
唯美伤感图片
女生伤感图片
唯美意境图片
悲伤的图片
唯美意境伤感图片
只有字的伤感图片
说说图片
伤心的图片
美甲图片
图片大全
情感图片
微信头像男
动态壁纸
动漫配图
伤感图片
首页
>
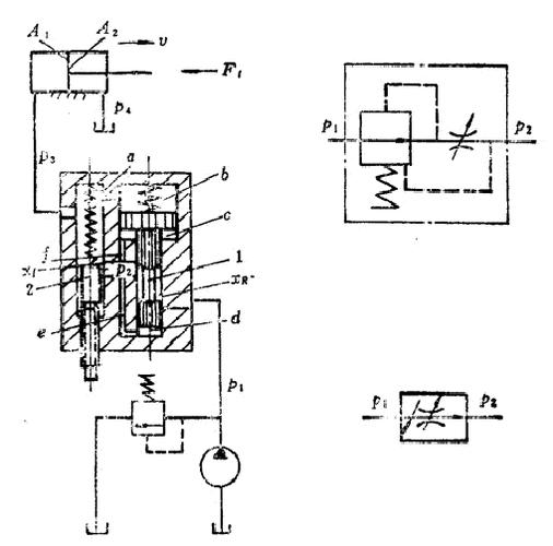
单向调速阀
单向调速阀,调速阀
厂家直销 qf3-6bb,qf3-6cb,单向调速阀
2frm53010l2frm6b762010qr单向调速阀
供应qa-h10单向调速阀
喜欢液压单向调速阀的还喜欢
单向调速阀图形符号分享展示
更多推荐
调速阀
调速阀图形符号
单向调速阀图形符号
单向调速阀原理图符号
单向节流阀
单向节流阀符号
调速阀和节流阀
单向调速阀原理
单向减压阀
单向顺序阀图形符号
单向节流阀图形符号
单向调速阀型号
液压单向调速阀
单向调速阀符号
单向顺序阀
单向止回阀
电磁调速阀
液压调速阀
气缸调速阀
比例调速阀
调速阀简图
调速阀符号
调速阀图片
调速阀的工作原理
smc调速阀
单向节流阀的工作原理
单向
单向轴承
液压调速阀符号
单向滚针轴承