首页
伤感说说
动漫配图
心情说说
抖音文案
伤感图片
伤感说说:
伤感的句子说说心情
空间说说
心情说说
爱情说说
女生伤感说说
人生感悟
心情不好的说说
说说带图片
关于生活的说说
说说心情短语
qq空间说说带图片
个性说说
励志名言
一句话经典语录
感悟人生的经典句子
短句吧
情感故事
抖音文案
伤感图片:
伤感图片带字
非主流伤感图片
唯美伤感图片
女生伤感图片
唯美意境图片
悲伤的图片
唯美意境伤感图片
只有字的伤感图片
说说图片
伤心的图片
美甲图片
图片大全
情感图片
微信头像男
动态壁纸
动漫配图
伤感图片
首页
>
双筒液压减震器
双筒液压减震器,液压减震器
悬架减振器
单筒减震器vs双筒减震器
汽车减震器的构造和工作原理(图解)
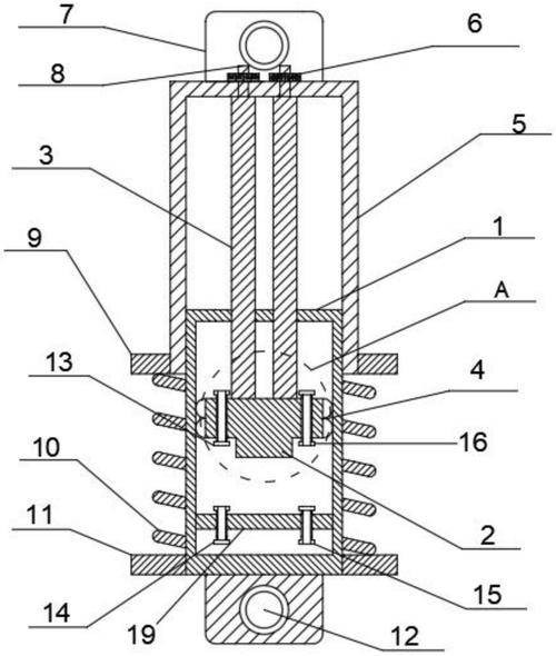
一种双筒式减震器
液压双筒减震器组成结构(来自大众自学材料)
更多推荐
液压减震器
液压减震器结构
汽车液压减震器
筒式减震器
电动车液压减震器
汽车筒式减震器
液压减震器的构造图解
液压减震器的工作原理
风机减震器
弹簧减震器
液压避震器原理图示
减震器
前减震器
阻尼减震器
减震器工作原理
减震器结构
扭转减震器
减震器顶胶
减震器结构图
风机减震器图片
气囊减震器
汽车减震器顶胶
蒙诺减震器
橡胶减震器
减震器报价
汽车减震器
减震器图片
减震器缓冲橡胶
科曼减震器
电动车减震器