首页
伤感说说
动漫配图
心情说说
抖音文案
伤感图片
伤感说说:
伤感的句子说说心情
空间说说
心情说说
爱情说说
女生伤感说说
人生感悟
心情不好的说说
说说带图片
关于生活的说说
说说心情短语
qq空间说说带图片
个性说说
励志名言
一句话经典语录
感悟人生的经典句子
短句吧
情感故事
抖音文案
伤感图片:
伤感图片带字
非主流伤感图片
唯美伤感图片
女生伤感图片
唯美意境图片
悲伤的图片
唯美意境伤感图片
只有字的伤感图片
说说图片
伤心的图片
美甲图片
图片大全
情感图片
微信头像男
动态壁纸
动漫配图
伤感图片
首页
>
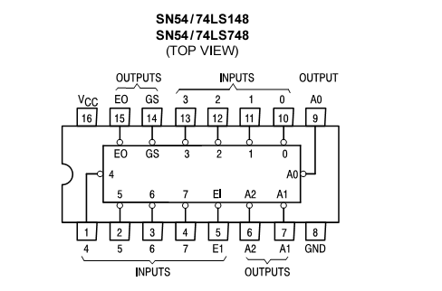
74148引脚图
74148引脚图,74138引脚图及功能
74148中文资料_优先级编码器74ls148的电路结构,工作
74ls148管脚图引脚
怎么会呢,u2(74ls148)0-7中,只要有一个输入为低电平,gs就会输出低
74系列数字电路74148,74ls148等8-3线优先编码器_电路
74ls148引脚图
更多推荐
74138引脚图及功能
74ls148引脚图及原理
74LS04引脚图
74283引脚图
74ls148内部电路图
74hc148引脚图
7448引脚图及功能
555引脚图
74ls138引脚图
cd4511引脚图
74ls283引脚图及功能
74ls30引脚图
74ls148引脚图
7404芯片引脚图功能图
7400引脚图及功能
74ls283引脚图
74148芯片引脚图功能图
74ls373引脚图及功能
7485引脚图
74151管脚图
7474芯片引脚图
74ls148芯片引脚图
74148
74283芯片引脚图
7404引脚图及功能
7404引脚图
74148功能表
5161as数码管引脚图
7483引脚图
dht11引脚图