首页
伤感说说
动漫配图
心情说说
抖音文案
伤感图片
伤感说说:
伤感的句子说说心情
空间说说
心情说说
爱情说说
女生伤感说说
人生感悟
心情不好的说说
说说带图片
关于生活的说说
说说心情短语
qq空间说说带图片
个性说说
励志名言
一句话经典语录
感悟人生的经典句子
短句吧
情感故事
抖音文案
伤感图片:
伤感图片带字
非主流伤感图片
唯美伤感图片
女生伤感图片
唯美意境图片
悲伤的图片
唯美意境伤感图片
只有字的伤感图片
说说图片
伤心的图片
美甲图片
图片大全
情感图片
微信头像男
动态壁纸
动漫配图
伤感图片
首页
>
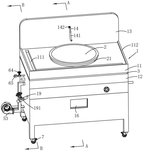
鼓风灶使用方法图解
鼓风灶使用方法图解,鼓风燃气灶台使用图解
燃气鼓风灶
丰台区方庄酒店灶具炊具销售维修 承接食堂低汤灶 鼓风灶维修.
燃气鼓风大锅灶的制作方法
供应北京厨房设备不锈钢燃气鼓风灶商用单炒单温炒菜灶
调节燃气灶的风门的正确步骤
更多推荐
鼓风燃气灶台使用图解
三眼鼓风灶
鼓风灶点火教程
集成灶的使用方法图解
安灶方位图使用方法
万用表的使用方法图解
靠尺使用方法图解
三脚架的使用方法图解
对讲机使用方法图解
全站仪使用方法图解
水准仪的使用方法图解
前打竿的使用方法图解
冲洗器的使用方法图解
微波炉的使用方法图解
电热水器使用方法图解
八爪椅图解使用方法
复印机的使用方法图解
袖扣使用方法图解
毛毛虫使用方法图解
消糜栓使用方法图解
作灶方位图解
调音台的使用方法图解
安灶方位图解
万用表使用方法小口诀
万用表的使用方法
板川集成灶按键图解
灶台坐西向东图解图
厨房风水灶台方位图解
灶口朝向图解
炉灶风水方位示意图