首页
伤感说说
动漫配图
心情说说
抖音文案
伤感图片
伤感说说:
伤感的句子说说心情
空间说说
心情说说
爱情说说
女生伤感说说
人生感悟
心情不好的说说
说说带图片
关于生活的说说
说说心情短语
qq空间说说带图片
个性说说
励志名言
一句话经典语录
感悟人生的经典句子
短句吧
情感故事
抖音文案
伤感图片:
伤感图片带字
非主流伤感图片
唯美伤感图片
女生伤感图片
唯美意境图片
悲伤的图片
唯美意境伤感图片
只有字的伤感图片
说说图片
伤心的图片
美甲图片
图片大全
情感图片
微信头像男
动态壁纸
动漫配图
伤感图片
首页
>
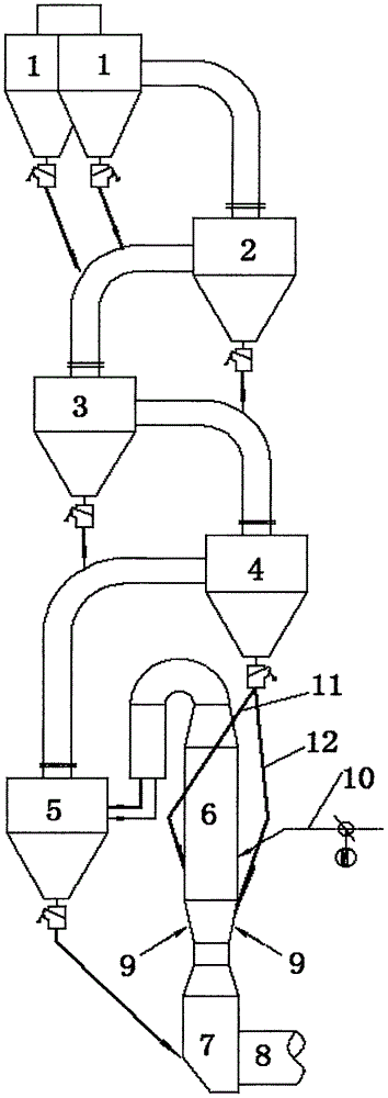
水泥厂预热器分解
水泥厂预热器分解,水泥厂预热器分解图
一种水泥生产预热器的制作方法
水泥厂预热器图纸
水泥厂预热器的图纸可以发给我一份吗,大侠?
文档网 所有分类 总结/汇报 实习总结 认识实习报告 预热分解:把生料
水泥厂预热器 主要防范措施
更多推荐
水泥厂预热器分解图
水泥厂预热器
水泥厂预热器图
水泥厂预热器结构图
水泥预热器平面图解
水泥厂预热器料走向图
水泥预热器工艺流程
水泥窑预热器结构图
预热器结构详解及图片
预热器工艺流程图
回转窑预热器结构图
五级旋风预热器结构图
预热器图片
五级旋风预热器原理图
五级预热器气料走向图