首页
伤感说说
动漫配图
心情说说
抖音文案
伤感图片
伤感说说:
伤感的句子说说心情
空间说说
心情说说
爱情说说
女生伤感说说
人生感悟
心情不好的说说
说说带图片
关于生活的说说
说说心情短语
qq空间说说带图片
个性说说
励志名言
一句话经典语录
感悟人生的经典句子
短句吧
情感故事
抖音文案
伤感图片:
伤感图片带字
非主流伤感图片
唯美伤感图片
女生伤感图片
唯美意境图片
悲伤的图片
唯美意境伤感图片
只有字的伤感图片
说说图片
伤心的图片
美甲图片
图片大全
情感图片
微信头像男
动态壁纸
动漫配图
伤感图片
首页
>
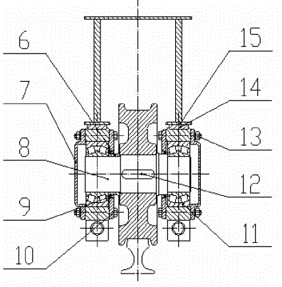
车轮连接结构图
车轮连接结构图,轮毂结构图和讲解
下摆臂,上支臂:连接车轮和车体的悬挂构件.
轮 辐 与车轴车轮实施安装连接,支撑轮辋的车轮部分.
一种汽车转向车轮处的挡板连接结构的制作方法
汽车构造 第十一讲 车桥和车轮
轴,车轮套在轴上,在车轮两侧的轴上对称的套有透盖,透盖外侧连接轴承
更多推荐
轮毂结构图和讲解
车轮和轴之间的连接图
轮胎结构图解
轮毂部位名称图解
汽车后轮结构图解
轴和车轮连接剖面图
机车车轮结构图
销轴连接结构图
螺栓连接结构图
螺钉连接结构图
航车梁的连接结构图
车轮结构
火车轮结构图
汽车前轮结构图解
齿轮关节结构图
普通螺栓连接结构图
行车梁连接图片
双头螺柱连接结构图
半轴和轮毂的连接图
销轴连接示意图
结构图
汽车前桥总成结构图
人体肌肉结构图示意图
头骨结构图
销连接实物图
车轮图片
吊车梁与牛腿连接详图
销轴连接图片
大脑结构图
细胞结构图