首页
伤感说说
动漫配图
心情说说
抖音文案
伤感图片
伤感说说:
伤感的句子说说心情
空间说说
心情说说
爱情说说
女生伤感说说
人生感悟
心情不好的说说
说说带图片
关于生活的说说
说说心情短语
qq空间说说带图片
个性说说
励志名言
一句话经典语录
感悟人生的经典句子
短句吧
情感故事
抖音文案
伤感图片:
伤感图片带字
非主流伤感图片
唯美伤感图片
女生伤感图片
唯美意境图片
悲伤的图片
唯美意境伤感图片
只有字的伤感图片
说说图片
伤心的图片
美甲图片
图片大全
情感图片
微信头像男
动态壁纸
动漫配图
伤感图片
首页
>
迷宫式密封动画演示
迷宫式密封动画演示,迷宫密封结构图
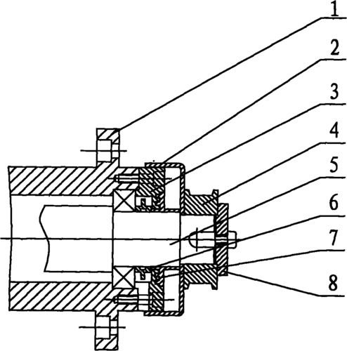
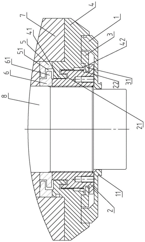
一种电主轴多层迷宫槽式密封结构的制作方法
cn101701607a_漆包机的迷宫密封型轴承盖失效
迷宫密封ppt课件
迷宫密封ppt
【九,迷宫密封】
更多推荐
迷宫密封结构图
油封密封原理动画演示
干气密封动画演示
迷宫式密封图片大全
迷宫密封结构图解
迷宫密封的工作原理
迷宫密封原理动画演示
迷宫密封原理动画
迷宫密封
浮动环密封动画演示
迷宫式密封
迷宫密封机械密封原理
迷宫式密封槽
径向迷宫式密封
迷宫式密封结构图片
密封垫片迷宫式拼接
迷宫密封装配方式
迷宫式密封圈524
主轴迷宫式密封
浮动轴承动画演示
动画演示
旋流器动画演示
迷宫式油封图片
化粪池原理动画演示
电梯工作原理动画演示
密封式振动筛
锚鱼原理动画演示
夯管法施工动画演示
干气密封的原理动画
轴承箱端盖迷宫密封