首页
伤感说说
动漫配图
心情说说
抖音文案
伤感图片
伤感说说:
伤感的句子说说心情
空间说说
心情说说
爱情说说
女生伤感说说
人生感悟
心情不好的说说
说说带图片
关于生活的说说
说说心情短语
qq空间说说带图片
个性说说
励志名言
一句话经典语录
感悟人生的经典句子
短句吧
情感故事
抖音文案
伤感图片:
伤感图片带字
非主流伤感图片
唯美伤感图片
女生伤感图片
唯美意境图片
悲伤的图片
唯美意境伤感图片
只有字的伤感图片
说说图片
伤心的图片
美甲图片
图片大全
情感图片
微信头像男
动态壁纸
动漫配图
伤感图片
首页
>
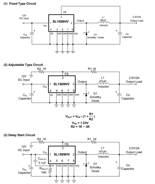
xl1509降压电路图
xl1509降压电路图,xl1509降压5V电路图
sl1509hv兼容xl1509恒压输出5v8a电流
xl1509-5.0小功率方案中输出过冲改善措施
供应芯龙电子元器件集成电路直流dc-dc降压车充芯片稳压ic xl1509
利用实例 具体利用时可根据需要选择:xl1509e1可调电压型,xl1509e1
xl1509 5w 降压型直流电源变换器ic
更多推荐
xl1509降压5V电路图
xl1509降压电路图分析
xl1509电路图
xl1509引脚功能图
降压启动电路图实物
降压启动电路图
丫△降压启动电路图
自耦降压启动电路图
星三角降压启动电路图
降压电路
电路图讲解和实物图
开关电源电路图及原理
电路图图解
最简单10个电路图
电机正反转控制电路图
电路图实物
电路图
自锁电路图
并联电路图
互锁电路实物接线图
串联电路图
互锁电路图
y-△降压启动接线图
互锁正反转控制电路图
正反转电路图
电路图设计
正反转控制电路图
简单电路图
初中电路图
电路图入门