首页
伤感说说
动漫配图
心情说说
抖音文案
伤感图片
伤感说说:
伤感的句子说说心情
空间说说
心情说说
爱情说说
女生伤感说说
人生感悟
心情不好的说说
说说带图片
关于生活的说说
说说心情短语
qq空间说说带图片
个性说说
励志名言
一句话经典语录
感悟人生的经典句子
短句吧
情感故事
抖音文案
伤感图片:
伤感图片带字
非主流伤感图片
唯美伤感图片
女生伤感图片
唯美意境图片
悲伤的图片
唯美意境伤感图片
只有字的伤感图片
说说图片
伤心的图片
美甲图片
图片大全
情感图片
微信头像男
动态壁纸
动漫配图
伤感图片
首页
>
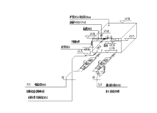
屋顶消防水箱系统图
屋顶消防水箱系统图,消防屋顶稳压罐连接图
消防水箱及稳压设备平面 剖面 系统
消防水箱给水系统图
湘潭某学院图书馆给排水图纸
屋顶消防水箱接管图
3,为了保证消防系统火灾初期消防水量,在屋顶设置消防水箱1座,水
更多推荐
消防屋顶稳压罐连接图
消防稳压泵安装图
消防水箱系统图纸图解
消防水箱安装图
屋顶消防水箱的连接图
气压罐与稳压泵连接图
屋顶消防水箱稳压系统
屋顶消防水箱
屋顶水箱供水原理图
消防水箱内部结构图
消防水箱示意图
消防水箱安装图集
楼顶消防水箱
高位消防水箱管路图
高位消防水箱供水演示
屋顶消防稳压泵安装图
消防水箱稳压泵连接图
消防稳压系统安装图
消防水泵出水管安装图
消防水箱间
消防水箱
玻璃钢消防水箱
不锈钢消防水箱
屋顶水箱
高位消防水箱
消防水泵正确安装图
屋顶试验消火栓图集
消防稳压罐安装图
消防稳压泵安装图集
消防稳压罐现场安装图