首页
伤感说说
动漫配图
心情说说
抖音文案
伤感图片
伤感说说:
伤感的句子说说心情
空间说说
心情说说
爱情说说
女生伤感说说
人生感悟
心情不好的说说
说说带图片
关于生活的说说
说说心情短语
qq空间说说带图片
个性说说
励志名言
一句话经典语录
感悟人生的经典句子
短句吧
情感故事
抖音文案
伤感图片:
伤感图片带字
非主流伤感图片
唯美伤感图片
女生伤感图片
唯美意境图片
悲伤的图片
唯美意境伤感图片
只有字的伤感图片
说说图片
伤心的图片
美甲图片
图片大全
情感图片
微信头像男
动态壁纸
动漫配图
伤感图片
首页
>
烧结炉结构
烧结炉结构,烧结炉结构图
cn1952573a_真空烧结炉失效
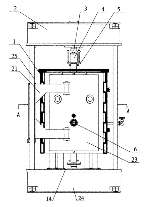
cn105157416a_高温真空烧结炉有效
粉末冶金烧结炉
cn100429469c_真空-热压烧结炉有效
一种用于碳化硅,碳化硼陶瓷烧结炉的气体排出装置的制作方法
更多推荐
烧结炉结构图
真空烧结炉结构
烧结炉的结构简图
烧结炉
钢厂烧结炉结构图
烧结炉原理
小型烧结炉
结构
烧结炉设备
陶瓷烧结炉
玻璃烧结炉
连续式烧结炉
真空烧结炉
钢厂烧结炉
刚玉烧结炉
包的结构
高的结构
粉末烧结炉
义齿烧结炉
人体结构
结构胶
心脏结构
花的结构
种子的结构
钢厂烧结炉设备
鱼的结构
粉末冶金烧结炉
口腔结构
眼睛结构
微波真空烧结炉