首页
伤感说说
动漫配图
心情说说
抖音文案
伤感图片
伤感说说:
伤感的句子说说心情
空间说说
心情说说
爱情说说
女生伤感说说
人生感悟
心情不好的说说
说说带图片
关于生活的说说
说说心情短语
qq空间说说带图片
个性说说
励志名言
一句话经典语录
感悟人生的经典句子
短句吧
情感故事
抖音文案
伤感图片:
伤感图片带字
非主流伤感图片
唯美伤感图片
女生伤感图片
唯美意境图片
悲伤的图片
唯美意境伤感图片
只有字的伤感图片
说说图片
伤心的图片
美甲图片
图片大全
情感图片
微信头像男
动态壁纸
动漫配图
伤感图片
首页
>
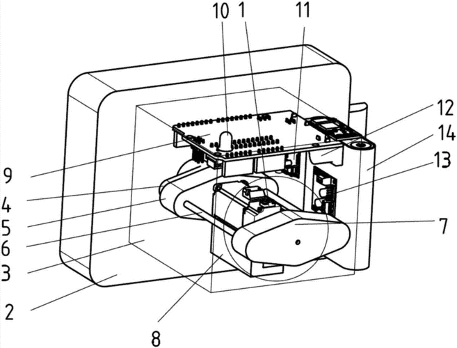
宿舍懒人开门装置
宿舍懒人开门装置,自动开门装置简易
宿舍推拉门回位回门自动关门器配件拉绳厕所家用缓冲寝室闭门神器
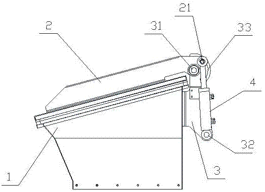
一种针对宿舍门锁的易拆装遥控开门装置制造方法及图纸
一种自动开门装置的制作方法
家大学生宿舍神器收纳简易懒人腾空可折叠电脑桌上下铺寝室神器 n
cn101672140a_一种远程开门方法及装置失效
更多推荐
自动开门装置简易
自动开门装置
院子大门自动开门装置
自制自动开门装置
遥控开门装置
自动平开门控制装置
平开大门自动开门器
最简单的遥控开门装置
自动开门装置结构图
平开门自动开门机
自动大门控制装置
大门自动开门器
宿舍
人开门
厦门大学宿舍
自动开门器家用
开门
宿舍照片
自动开门
宿舍h
衣柜自动开门器家用
衣柜自动开门器
大学宿舍
北京大学宿舍
清华大学宿舍
开门杀
员工宿舍
自动开门机构
懒人用品
懒人用品店