首页
伤感说说
动漫配图
心情说说
抖音文案
伤感图片
伤感说说:
伤感的句子说说心情
空间说说
心情说说
爱情说说
女生伤感说说
人生感悟
心情不好的说说
说说带图片
关于生活的说说
说说心情短语
qq空间说说带图片
个性说说
励志名言
一句话经典语录
感悟人生的经典句子
短句吧
情感故事
抖音文案
伤感图片:
伤感图片带字
非主流伤感图片
唯美伤感图片
女生伤感图片
唯美意境图片
悲伤的图片
唯美意境伤感图片
只有字的伤感图片
说说图片
伤心的图片
美甲图片
图片大全
情感图片
微信头像男
动态壁纸
动漫配图
伤感图片
首页
>
前制动钳壳体总成
前制动钳壳体总成,前制动盘
左制动钳总成,23971428
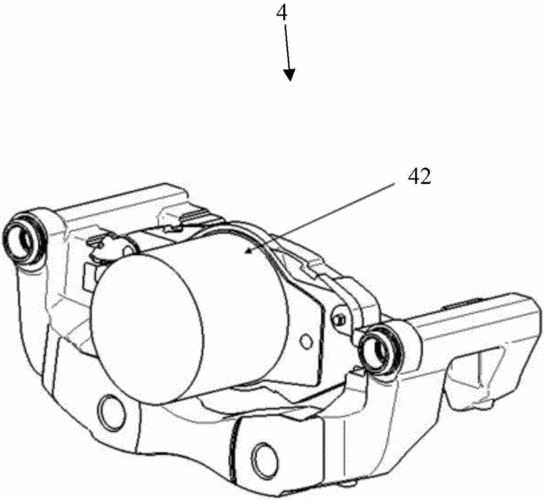
汽车制动卡钳壳体总成及制动卡钳的制作方法
右前制动钳壳体总成,b11-6gn3501058ba
左前制动钳总成,j69-3501050
别克新君威新君越新gl8陆尊前后刹车分泵制动钳分左右
更多推荐
前制动盘
前阅读灯总成
曲轴箱通风管总成
前翼子板
前门玻璃升降器总成
前悬架减震器
前照灯总成
后制动钳壳体总成
涡轮增压器总成
碳罐脱附控制阀总成
发动机真空泵总成
正时链条张紧器总成
进气温度压力传感器
前轮传动半轴总成
双质量飞轮总成
前门锁体总成
冷却系统中冷器总成
充电口壳体总成
前下控制臂总成
制动助力器总成
动力总成
制动储液罐总成
前轮罩衬板总成
动力电池冷却泵总成
发动机总成
发动机总成图解
传动轴总成图片
前标牌总成
总成
变速箱总成