首页
伤感说说
动漫配图
心情说说
抖音文案
伤感图片
伤感说说:
伤感的句子说说心情
空间说说
心情说说
爱情说说
女生伤感说说
人生感悟
心情不好的说说
说说带图片
关于生活的说说
说说心情短语
qq空间说说带图片
个性说说
励志名言
一句话经典语录
感悟人生的经典句子
短句吧
情感故事
抖音文案
伤感图片:
伤感图片带字
非主流伤感图片
唯美伤感图片
女生伤感图片
唯美意境图片
悲伤的图片
唯美意境伤感图片
只有字的伤感图片
说说图片
伤心的图片
美甲图片
图片大全
情感图片
微信头像男
动态壁纸
动漫配图
伤感图片
首页
>
吊篮安全锁扣
吊篮安全锁扣,吊篮防坠器
吊篮必须安装灵敏可靠的防坠安全锁
安全锁: 当平台运行速度达到锁绳速度时,能自动锁住安全钢丝绳,使平台
吊篮安全锁
缓降器 毫米 20 16 安全带锁绳器 电动吊篮配件大绳安全绳自锁器
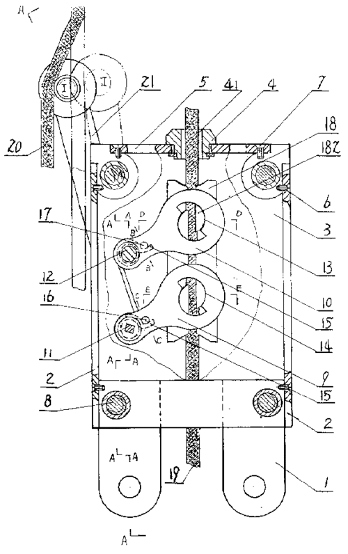
高处作业吊篮用安全锁的夹绳装置
更多推荐
吊篮防坠器
吊篮安全绳
吊篮安全锁扣图片
吊篮钢丝绳卡扣
吊篮安全锁
吊篮安全绳锁扣图片
吊篮安全绳用安全锁扣
吊篮锁扣
安全绳安全锁扣图片
安全绳安全锁扣系法
安全锁扣
安全锁扣图片
冰箱安全锁扣
安全绳锁扣图
吊篮安装
吊篮安装方案
门锁锁扣
吊篮
锁扣
钢丝绳安全锁扣图片
吊车吊篮
吊篮设备
吊篮使用规范
酒店门安全锁扣图片
弹簧锁扣
吊绳防滑锁扣图片
老式锁扣
自动锁扣
吊篮事故
门锁扣图片大全