首页
伤感说说
动漫配图
心情说说
抖音文案
伤感图片
伤感说说:
伤感的句子说说心情
空间说说
心情说说
爱情说说
女生伤感说说
人生感悟
心情不好的说说
说说带图片
关于生活的说说
说说心情短语
qq空间说说带图片
个性说说
励志名言
一句话经典语录
感悟人生的经典句子
短句吧
情感故事
抖音文案
伤感图片:
伤感图片带字
非主流伤感图片
唯美伤感图片
女生伤感图片
唯美意境图片
悲伤的图片
唯美意境伤感图片
只有字的伤感图片
说说图片
伤心的图片
美甲图片
图片大全
情感图片
微信头像男
动态壁纸
动漫配图
伤感图片
首页
>
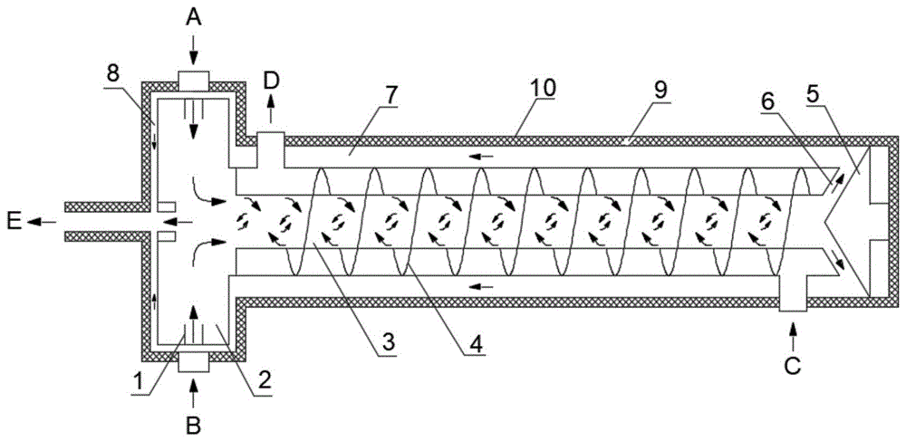
涡流管原理
涡流管原理,涡流管图纸
涡流管结构
涡流管涡旋管
vair涡流冷却管原理及应用
一种双侧式高效涡流管加热器的制作方法
cn101556092a_涡流管失效
更多推荐
涡流管图纸
涡流管制冷原理
家用自制涡流管制冷器
涡流管制作图纸
涡流管结构图
自制涡流管
涡流原理
涡流管
涡流管结构
流体涡流
涡流管制冷
流体涡流图片
涡流
电涡流
涡流发生器
涡流传感器
涡流风机
涡流制冷器原理结构图
变压器原理
涡流损耗
发电机原理
涡流检测
涡流的产生图解
翼尖涡流
水的涡流现象
电动机原理
涡流制冷管解剖图
电磁炮原理
杠杆原理
开关电源电路图及原理