首页
伤感说说
动漫配图
心情说说
抖音文案
伤感图片
伤感说说:
伤感的句子说说心情
空间说说
心情说说
爱情说说
女生伤感说说
人生感悟
心情不好的说说
说说带图片
关于生活的说说
说说心情短语
qq空间说说带图片
个性说说
励志名言
一句话经典语录
感悟人生的经典句子
短句吧
情感故事
抖音文案
伤感图片:
伤感图片带字
非主流伤感图片
唯美伤感图片
女生伤感图片
唯美意境图片
悲伤的图片
唯美意境伤感图片
只有字的伤感图片
说说图片
伤心的图片
美甲图片
图片大全
情感图片
微信头像男
动态壁纸
动漫配图
伤感图片
首页
>
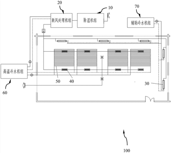
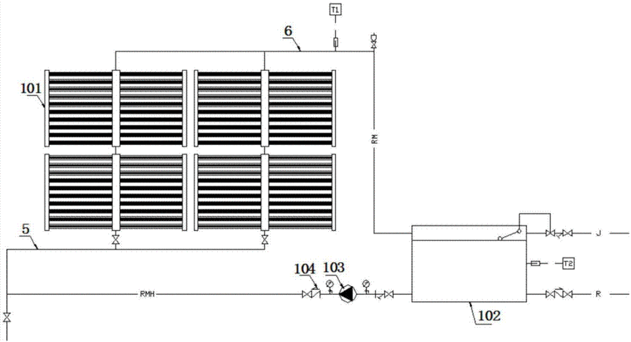
干燥通风
干燥通风,常通风卡通
7 4,抗裂砂浆在储存过程中,应存放在干燥通风处,避免受潮.
供应高温车间降温 干燥车间增湿 通风降温增湿设备
供热炉灶通风干燥设备的制造及其应用技术
x技术 最新专利 供热;炉灶;通风;干燥设备的制造及其应用技术 结合
供热炉灶通风干燥设备的制造及其应用技术
更多推荐
常通风卡通
多通风
通风
室内通风
通风病
极度干燥
干燥管
干燥
通风口
干燥卡通
通风器
开窗通风
勤通风
通风管道
通风气楼
通风系统
北方干燥
通风窗
干燥瓶
通风井
居室通风
通风橱
天气干燥
通风天窗
球形干燥管
座椅通风
通风漫画
皮肤干燥
干燥性湿疹
干燥过滤器