首页
伤感说说
动漫配图
心情说说
抖音文案
伤感图片
伤感说说:
伤感的句子说说心情
空间说说
心情说说
爱情说说
女生伤感说说
人生感悟
心情不好的说说
说说带图片
关于生活的说说
说说心情短语
qq空间说说带图片
个性说说
励志名言
一句话经典语录
感悟人生的经典句子
短句吧
情感故事
抖音文案
伤感图片:
伤感图片带字
非主流伤感图片
唯美伤感图片
女生伤感图片
唯美意境图片
悲伤的图片
唯美意境伤感图片
只有字的伤感图片
说说图片
伤心的图片
美甲图片
图片大全
情感图片
微信头像男
动态壁纸
动漫配图
伤感图片
首页
>
亚瑟2062345
亚瑟2062345,亚瑟2222338
企业网络中gvrp的配置使用简述 — 华为
cntrades.com/sell/itemid-206234548.
cn206234502u_多层尼龙燃油管有效
cn206234522u_一种竖井喷浆管连接装置有效
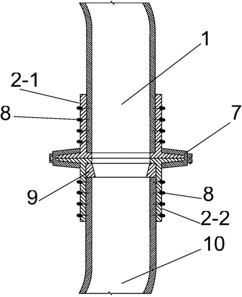
cn206234506u_一种不锈钢管密封连接装置有效
更多推荐
亚瑟2222338
2222337亚瑟
2993456亚瑟
yasee亚瑟3333251
亚瑟303333
亚瑟
老亚瑟
哈亚瑟
王者荣耀亚瑟
亚瑟301777
亚瑟皮肤
亚瑟图片
亚瑟摩根
亚瑟搞笑
亚瑟电影
亚瑟动漫
小丑亚瑟
亚瑟壁纸
亚瑟头像
亚瑟摩根壁纸
亚瑟王
浴血黑帮亚瑟
亚瑟摩根头像
亚瑟谢尔比
亚瑟柯克兰
查理九世亚瑟