首页
伤感说说
动漫配图
心情说说
抖音文案
伤感图片
伤感说说:
伤感的句子说说心情
空间说说
心情说说
爱情说说
女生伤感说说
人生感悟
心情不好的说说
说说带图片
关于生活的说说
说说心情短语
qq空间说说带图片
个性说说
励志名言
一句话经典语录
感悟人生的经典句子
短句吧
情感故事
抖音文案
伤感图片:
伤感图片带字
非主流伤感图片
唯美伤感图片
女生伤感图片
唯美意境图片
悲伤的图片
唯美意境伤感图片
只有字的伤感图片
说说图片
伤心的图片
美甲图片
图片大全
情感图片
微信头像男
动态壁纸
动漫配图
伤感图片
首页
>
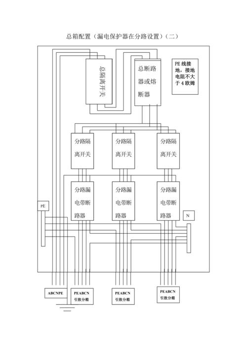
电箱电路图
电箱电路图,二级配电箱线路图
根据拍得这个房间配电箱里的电路图推断.
总电箱配置电路图
工地临时电箱线路图怎么画?是个三级箱
配电箱的内部结构解析,谁看谁懂!
一二三级配电箱原理图,施工临电平面图
更多推荐
二级配电箱线路图
电箱电路图实物图
配电箱电路系统图
一级电箱电路图
标准电柜图片大全
家用电箱电路图
配电柜电路图怎么画
电箱配置图
三级箱电路图
电箱电路图纸
开关箱电路图
二级电箱电路图片
三相电配电箱系统图
工地三级配电箱系统图
三级配电箱示意图
电箱系统电路图
配电箱线路示意图
电箱线路图
配电柜电路图
三级电箱配置图
二级配电箱图片
工地电箱电路图
配电箱线路图
工地正规三级配电箱
二级箱电路图
电箱接线图和解说
电箱图片
一机一闸一漏一箱图解
三级配电箱电路图
二级配电箱电路图