首页
伤感说说
动漫配图
心情说说
抖音文案
伤感图片
伤感说说:
伤感的句子说说心情
空间说说
心情说说
爱情说说
女生伤感说说
人生感悟
心情不好的说说
说说带图片
关于生活的说说
说说心情短语
qq空间说说带图片
个性说说
励志名言
一句话经典语录
感悟人生的经典句子
短句吧
情感故事
抖音文案
伤感图片:
伤感图片带字
非主流伤感图片
唯美伤感图片
女生伤感图片
唯美意境图片
悲伤的图片
唯美意境伤感图片
只有字的伤感图片
说说图片
伤心的图片
美甲图片
图片大全
情感图片
微信头像男
动态壁纸
动漫配图
伤感图片
首页
>
金属罩电磁屏蔽原理图
金属罩电磁屏蔽原理图,两种静电屏蔽示意图
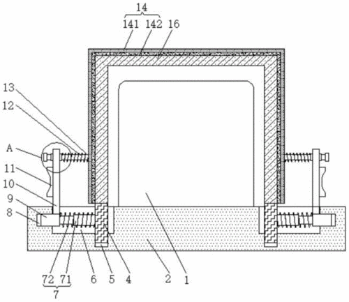
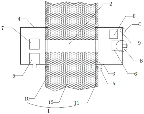
电磁屏蔽方舱的制作方法
电磁场的强度将明显降低,这种现象就是金属材料的屏蔽作用
许多人不了解电磁屏蔽的原理,认为只要用金属做一个箱子,然后将箱子
电磁屏蔽就是以金属隔离的原理来控制电磁干扰 由一个区域向另一个
一种高硬度电磁屏蔽罩的制作方法
更多推荐
两种静电屏蔽示意图
静电屏蔽的原理图解
金属壳静电屏蔽原理图
电磁屏蔽原理图
电磁屏蔽原理
电磁屏蔽示意图
电磁屏蔽罩
双速电机接线图原理图
原理图工作原理
电磁屏蔽图片
电磁屏蔽玻璃
电磁屏蔽
电磁屏蔽设备
放大电路原理图
电磁屏蔽机柜
多用电表原理图及解释
电磁屏蔽门
电磁屏蔽材料
电磁屏蔽设计
电磁屏蔽机房
9013引脚图和原理图
电气原理图
电磁屏蔽应用场景
电磁屏蔽织物
电磁屏蔽帐篷
液压原理图
电磁屏蔽网
pcb原理图
原理图
双控开关原理图