首页
伤感说说
动漫配图
心情说说
抖音文案
伤感图片
伤感说说:
伤感的句子说说心情
空间说说
心情说说
爱情说说
女生伤感说说
人生感悟
心情不好的说说
说说带图片
关于生活的说说
说说心情短语
qq空间说说带图片
个性说说
励志名言
一句话经典语录
感悟人生的经典句子
短句吧
情感故事
抖音文案
伤感图片:
伤感图片带字
非主流伤感图片
唯美伤感图片
女生伤感图片
唯美意境图片
悲伤的图片
唯美意境伤感图片
只有字的伤感图片
说说图片
伤心的图片
美甲图片
图片大全
情感图片
微信头像男
动态壁纸
动漫配图
伤感图片
首页
>
海尔冰箱保湿盖板图片
海尔冰箱保湿盖板图片,海尔冰箱保湿盖板安装
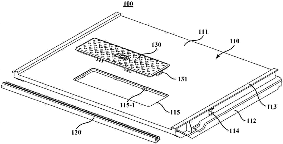
保湿盖板及具有该保湿盖板的冰箱的制作方法
适用海尔冰箱配件bcd-415wdvc保温盒盖板405wdgqu1冷藏保鲜隔层板
海尔冰箱戳破了食品保鲜的"窗户纸"
海尔冰箱冷藏室下抽屉盖板 搁板bcd-649wle 643wajd 649wm 盖板
冰箱隔板层 海尔冰箱隔板层配件置物架冷藏冷冻收纳冰柜盖板钢化玻璃
更多推荐
海尔冰箱保湿盖板安装
海尔冰箱保湿盖板方法
冰箱保湿盖板
海尔冰箱冷冻抽屉配件
海尔冰箱图片
海尔小冰箱价格及图片
海尔冰箱图片价格大全
海尔冰箱调温图解
海尔冰箱温度调节图解
海尔冰箱
海尔小冰箱
海尔冰箱系列和价格
海尔冰箱说明书
海尔冰箱1000元左右
海尔双开门冰箱
海尔冰箱标志
海尔冰箱温度怎么调
海尔冰箱售后服务电话
海尔冰箱2009年
2020年海尔冰箱最新款
海尔空调
海尔
美的冰箱
海尔洗衣机
冰箱维修价目表
海尔电视
海尔logo