首页
伤感说说
动漫配图
心情说说
抖音文案
伤感图片
伤感说说:
伤感的句子说说心情
空间说说
心情说说
爱情说说
女生伤感说说
人生感悟
心情不好的说说
说说带图片
关于生活的说说
说说心情短语
qq空间说说带图片
个性说说
励志名言
一句话经典语录
感悟人生的经典句子
短句吧
情感故事
抖音文案
伤感图片:
伤感图片带字
非主流伤感图片
唯美伤感图片
女生伤感图片
唯美意境图片
悲伤的图片
唯美意境伤感图片
只有字的伤感图片
说说图片
伤心的图片
美甲图片
图片大全
情感图片
微信头像男
动态壁纸
动漫配图
伤感图片
首页
>
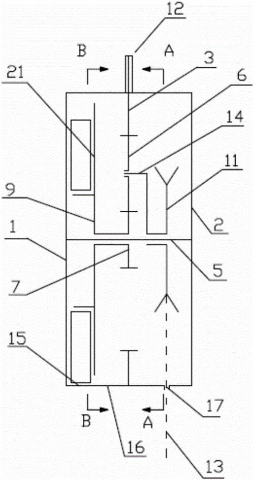
缓降器工作原理图
缓降器工作原理图,缓降器内部结构图
防恐慌可调速逃生包火灾逃生器高楼逃生器缓降器快速逃生器
一种救生缓降器制造技术
逃生缓降器制造技术
助君安牌逃生缓降器已通过国家固定灭火系统和耐火构件质量监督检验
逃生高楼缓降器高空家用多人缓降器救生高层火灾消防安全绳高楼绳
更多推荐
缓降器内部结构图
缓降器的原理
缓降器原理图
缓降器原理
芯片工作原理图解
救生缓降器安装图
缓降器图片
逃生缓降器图片
软启动器工作原理
离合器的工作原理
继电器工作原理接线图
救生缓降器图片
真空发生器工作原理
热继电器工作原理
差速器工作原理
油水分离器工作原理
缓降器
预作用报警阀工作原理
减压阀工作原理
柱塞泵工作原理
晶体管工作原理
隔膜泵工作原理
离心泵的工作原理
内燃机工作原理
高空缓降器
家用逃生缓降器
液压机工作原理
plc工作原理
压缩机工作原理
逃生缓降器