首页
伤感说说
动漫配图
心情说说
抖音文案
伤感图片
伤感说说:
伤感的句子说说心情
空间说说
心情说说
爱情说说
女生伤感说说
人生感悟
心情不好的说说
说说带图片
关于生活的说说
说说心情短语
qq空间说说带图片
个性说说
励志名言
一句话经典语录
感悟人生的经典句子
短句吧
情感故事
抖音文案
伤感图片:
伤感图片带字
非主流伤感图片
唯美伤感图片
女生伤感图片
唯美意境图片
悲伤的图片
唯美意境伤感图片
只有字的伤感图片
说说图片
伤心的图片
美甲图片
图片大全
情感图片
微信头像男
动态壁纸
动漫配图
伤感图片
首页
>
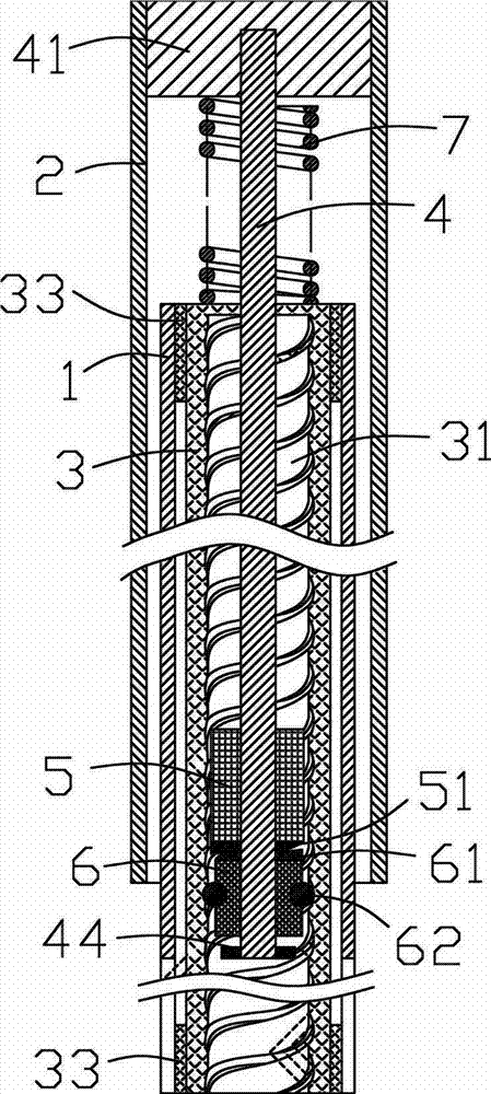
旋转拖把转芯结构
旋转拖把转芯结构,伸缩拖把杆坏修理图片
工作原理 旋转拖把将手的往复运动转换成了拖把头的旋转运动.
公开号为cn 103417168 a的一种可甩干脱水的旋转式拖把,包括旋转拖把
cn201641905u_伸缩旋转拖把有效
批发拖把配件 好神拖麻花杆 旋转拖把转芯 旋转拖把杆 拖把配件图片_2
导向轴芯及套设于导向轴芯上且可沿导向轴芯转动的旋转导件,所述旋转
更多推荐
伸缩拖把杆坏修理图片
旋转拖把维修
旋转拖把拆卸图解
旋转拖把杆芯配件
旋转拖把的转芯原理图
旋转拖把杆拆卸图解
旋转拖把杆内部的配件
旋转拖把拆卸
旋转拖把结构原理图
大卫旋转拖把杆拆解
旋转拖把杆维修拆检图
旋转拖把原理
旋转拖把怎么安装
旋转拖把原理结构
旋转拖把如何换拖把头
旋转拖把
洁仕宝旋转拖把
旋转拖把头
拓朴旋转拖把
旋转拖把原理图
旋转拖把配件
旋转拖把桶转轴修理
旋转拖把杆构造原理图
拖把内部旋转原理图
好媳妇旋转拖把
旋转拖把头怎么换图解
大卫旋转拖把杆修理
旋转拖把怎么拆卸图解
旋转拖把杆打滑维修
手压式旋转拖把杆图解