首页
伤感说说
动漫配图
心情说说
抖音文案
伤感图片
伤感说说:
伤感的句子说说心情
空间说说
心情说说
爱情说说
女生伤感说说
人生感悟
心情不好的说说
说说带图片
关于生活的说说
说说心情短语
qq空间说说带图片
个性说说
励志名言
一句话经典语录
感悟人生的经典句子
短句吧
情感故事
抖音文案
伤感图片:
伤感图片带字
非主流伤感图片
唯美伤感图片
女生伤感图片
唯美意境图片
悲伤的图片
唯美意境伤感图片
只有字的伤感图片
说说图片
伤心的图片
美甲图片
图片大全
情感图片
微信头像男
动态壁纸
动漫配图
伤感图片
首页
>
航空发动机简笔画
航空发动机简笔画,航空发动机简图
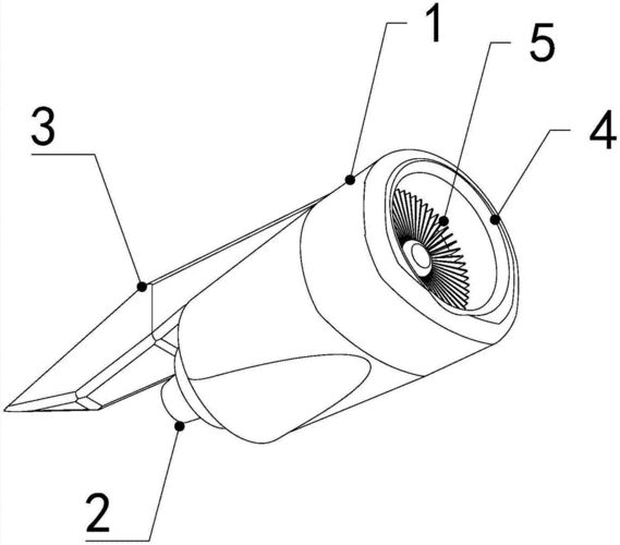
一种飞机发动机壳体铸造件制造技术
步骤一:先画出飞机的机身轮廓,尾巴画上发动机和尾翼.
航空发动机的内部构造
描述: 航空发动机-民航飞机运输壁纸 当前壁纸尺寸: 1200 x 900
飞机涡轮发动机
更多推荐
航空发动机简图
航空发动机压气机
航空发动机动图
航空发动机机匣
航空发动机图片
航空发动机
GE航空发动机
航空发动机结构图
航空发动机原理
航空发动机结构
航空发动机压气机叶片
航空发动机风扇
中国航空发动机
航空发动机gif
航空发动机装配
航空发动机叶片
航空发动机模型
航空发动机燃烧室
航空发动机轴承
劳斯莱斯航空发动机
航空发动机叶片结构
动物简笔画
民用航空发动机
交通工具简笔画
简笔画
动物简笔画图片大全
用户作品简笔画
人物简笔画
简笔画可爱
简笔画图片大全