首页
伤感说说
动漫配图
心情说说
抖音文案
伤感图片
伤感说说:
伤感的句子说说心情
空间说说
心情说说
爱情说说
女生伤感说说
人生感悟
心情不好的说说
说说带图片
关于生活的说说
说说心情短语
qq空间说说带图片
个性说说
励志名言
一句话经典语录
感悟人生的经典句子
短句吧
情感故事
抖音文案
伤感图片:
伤感图片带字
非主流伤感图片
唯美伤感图片
女生伤感图片
唯美意境图片
悲伤的图片
唯美意境伤感图片
只有字的伤感图片
说说图片
伤心的图片
美甲图片
图片大全
情感图片
微信头像男
动态壁纸
动漫配图
伤感图片
首页
>
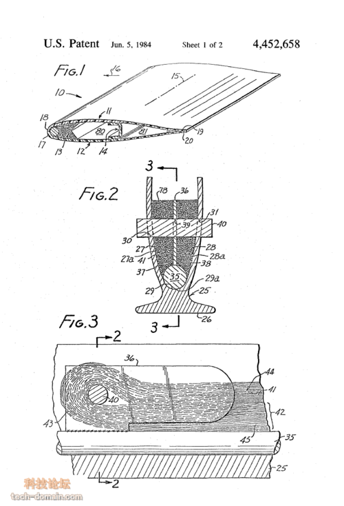
直升机旋翼叶片自制
直升机旋翼叶片自制,直升机旋翼叶片
直升机技术专利:直升机旋翼叶片制作方法
直升机上螺旋桨的为什么细长细长?
直升机主旋翼组件模型
霸王龙450 rc直升机旋翼叶片
[科普] 共轴双旋翼直升机的技术特点及发展
更多推荐
直升机旋翼叶片
直升机叶片
直升机旋翼结构
直升机桨叶结构图
自制直升机旋翼头
单旋翼直升机图片
多旋翼直升机
单旋翼直升机
直升机旋翼
自制直升机
自制共轴直升机
共轴双旋翼直升机
双旋翼直升机
横列双旋翼直升机
自制载人直升机
直升机旋翼头
双旋翼共轴式直升机
直升机旋翼结构图
交叉双旋翼直升机
遥控双旋翼直升飞机
双旋翼横列式直升机
直升机旋翼剖面
自制共轴直升机图纸
共轴双旋翼直升机原理
直升机叶片结构图
共轴双旋翼直升机图纸
自制直升机图纸
125发动机自制直升飞机
直升机制作方法
自制直升飞机构造图解